EasyManua.ls Logo

Sony PS-X75 - Automatic Disk Size Detection Circuit

Sony PS-X75
37 pages
Print Icon
To Next Page IconTo Next Page
To Next Page IconTo Next Page
To Previous Page IconTo Previous Page
To Previous Page IconTo Previous Page
Loading...
5V
ov
ie]
ARM
LIFTER
DOWN
|
PS-X75
Bt
=
Q108
UT
OF
ZERO
BALANCE.
ST
@
0
1)
STYLUS
FORCE
Og7>39
ae
Tepe
at
avaoe
TO
HORIZONTAL-
[-D
9
DRIVE
CIRCUIT
FSO
=
Bt
1C109
er
ce
oO”
sas
@-O-}>-O+Omn
|
|S
aie
ote
a.
Mma
bd
2]
&
1502
iaioe
al
Com
&
7
B
STYLUS
FORCE
2
9
Q122
NE
39
Bt
<I
0133
eae
er
BALA
@
©)
Le
6)
tO)
i>
Q132
5
Vv
\
ci
_
1C102
oie
1C103
kay
WITHIN
ZERO
;
B-
BALANCE
Fig.
4
(ARM
LIFTER
DOWN)
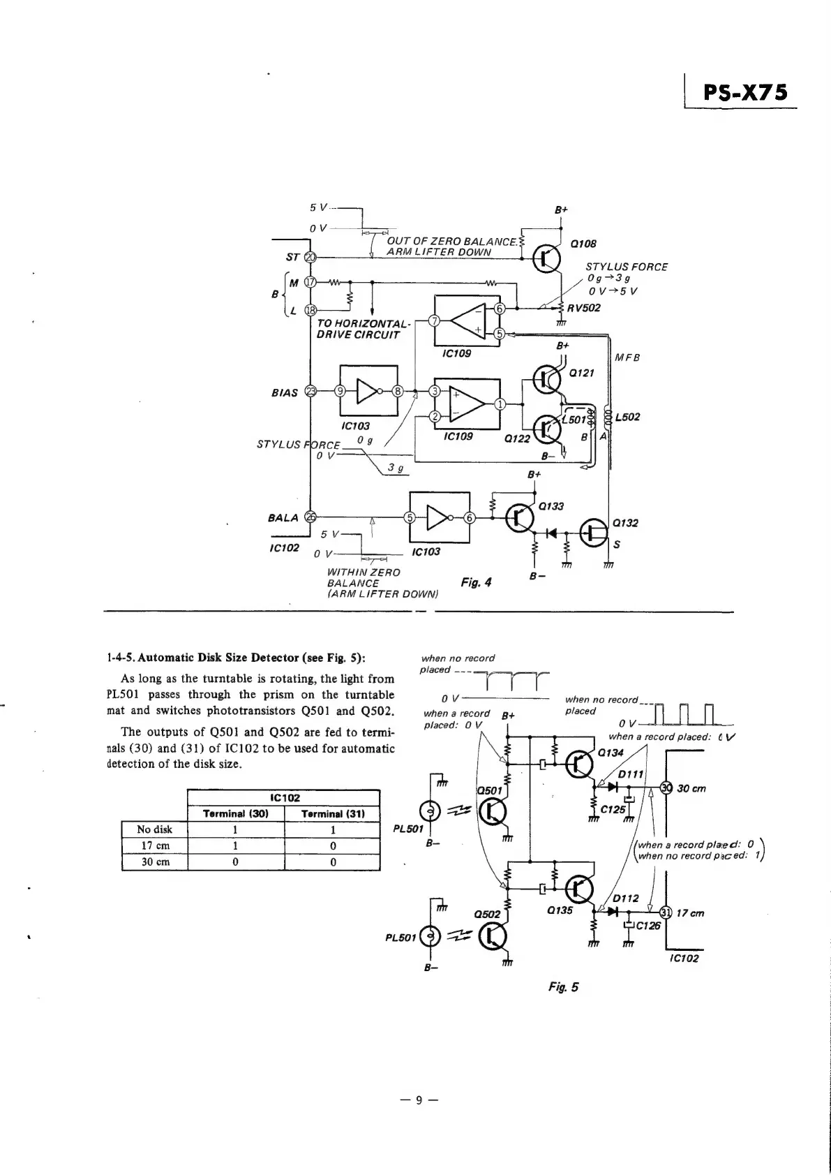
1-4-5,
Automatic
Disk
Size
Detector
(see
Fig.
5):
As
long
as
the
turntable
is
rotating,
the
light
from
PLS501
passes
through
the
prism
on
the
turntable
mat
and
switches
phototransistors
Q501
and
Q502.
The
outputs
of
Q501
and
Q502
are
fed
to
termi-
nals
(30)
and
(31)
of
IC102
to
be
used
for
automatic
detection
of
the
disk
size.
when
no
record
placed
—--~
SS
when
a
record
p+
placed:
OV
when
no
record
___
placed
i
[|
|
OV
when
a
record
placed:
0V
[Nodsk
|
1
|
St
*d
Cn
Ee
ee
ee
ee
ee
e
when
a
record
plaed:
0
when
no
record
paced:
7
Q502
PL501
Le
B-
Fig.
5

Related product manuals