EasyManua.ls Logo

Sony SA-VA15 - Page 13

Sony SA-VA15
21 pages
Print Icon
To Next Page IconTo Next Page
To Next Page IconTo Next Page
To Previous Page IconTo Previous Page
To Previous Page IconTo Previous Page
Loading...
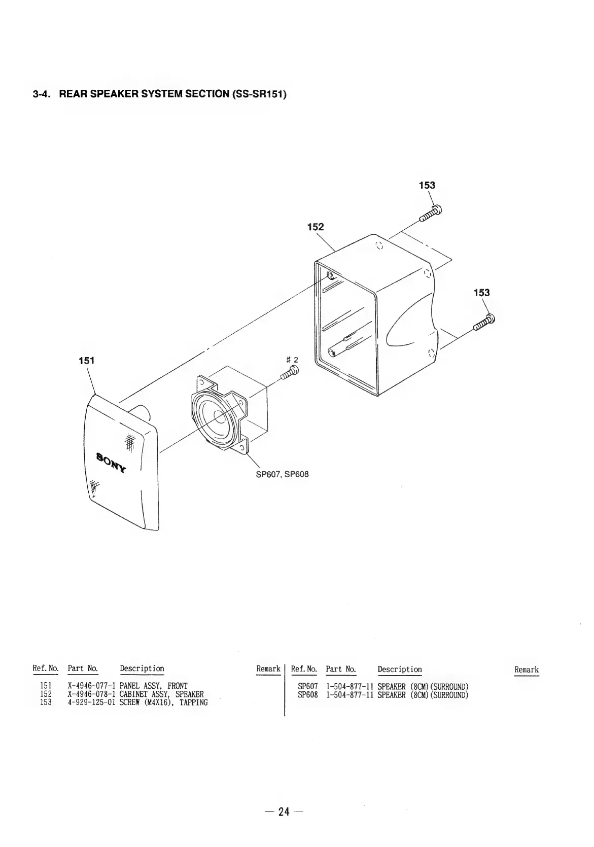
3-4.
REAR
SPEAKER
SYSTEM
SECTION
(SS-SR151)
Ref.
No.
151
152
153
151
Part
No.
Description
X-4946-077-1
PANEL
ASSY,
FRONT
X-4946-078-1
CABINET
ASSY,
SPEAKER
4-929-125-01
SCREW
(M4X16),
TAPPING
152
a
SP607,
SP608
Remark
|
Ref.No.
Part
No.
Description
SP607
1-504-877-11
SPEAKER
(8CM)
(SURROUND)
SP608
1-504-877-11
SPEAKER
(8CM)
(SURROUND)
153
Remark

Other manuals for Sony SA-VA15

Related product manuals