EasyManua.ls Logo

Sony SA-WMT300 - Identifying Parts and Controls

Sony SA-WMT300
40 pages
Print Icon
To Next Page IconTo Next Page
To Next Page IconTo Next Page
To Previous Page IconTo Previous Page
To Previous Page IconTo Previous Page
Loading...
6
GB
Guide to Parts and Controls
Details are omitted from the illustrations.
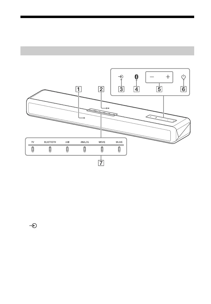
Front
Remote control sensor
Point the remote control at the
remote control sensor to operate
the system.
N-Mark (page 20)
When using the NFC function, touch
your NFC-compatible device to the
mark.
(input select) button
(page 13)
BLUETOOTH PAIRING button
(page 19)
+/– (volume) buttons
 (power) button
Turns on the system or sets it to
standby mode.
Indicators
For details, see “About the
indicators on the main unit”
(page 7).
Bar Speaker (Main Unit)

Related product manuals