EasyManua.ls Logo

Sony SDM-HS73P - Block Diagram

Sony SDM-HS73P
12 pages
Print Icon
To Next Page IconTo Next Page
To Next Page IconTo Next Page
To Previous Page IconTo Previous Page
To Previous Page IconTo Previous Page
Loading...
- 7 -
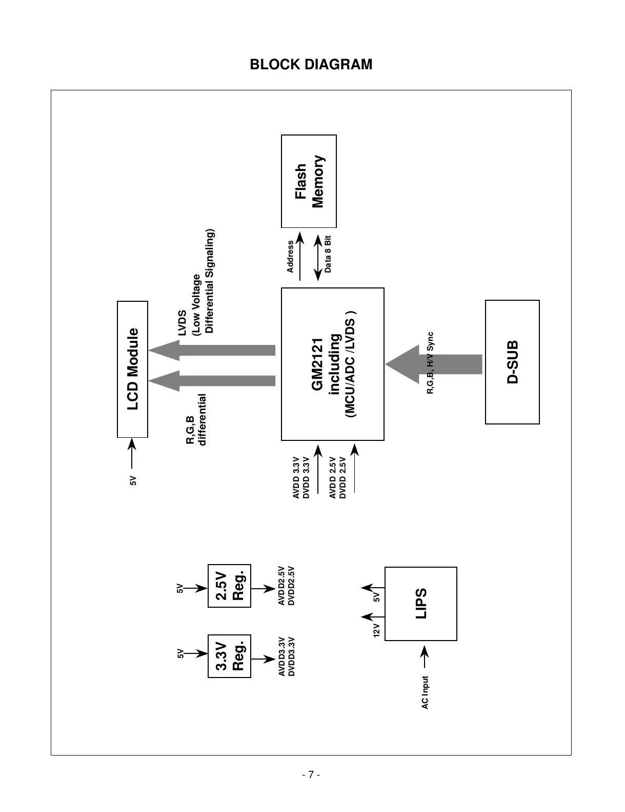
D-SUB
GM2121
including
(MCU/ADC /LVDS )
Flash
Memory
LCD Module
R,G,B
differential
LVDS
(Low Voltage
Differential Signaling)
Data 8 Bit
Address
LIPS
5V
AVD D 3.3V
DVDD 3.3V
5V
AC Input
AVD D 2.5V
DVDD 2.5V
3.3V
Reg.
AVD D3 .3V
DVDD3.3V
2.5V
Reg.
AVD D2 .5V
DVDD2.5V
5V
5V
12V
R,G,B, H/V Sync
BLOCK DIAGRAM
All manuals and user guides at all-guides.com

Related product manuals