EasyManua.ls Logo

Sorvall RT/T6000D - Page 101

Sorvall RT/T6000D
302 pages
Print Icon
To Next Page IconTo Next Page
To Next Page IconTo Next Page
To Previous Page IconTo Previous Page
To Previous Page IconTo Previous Page
Loading...
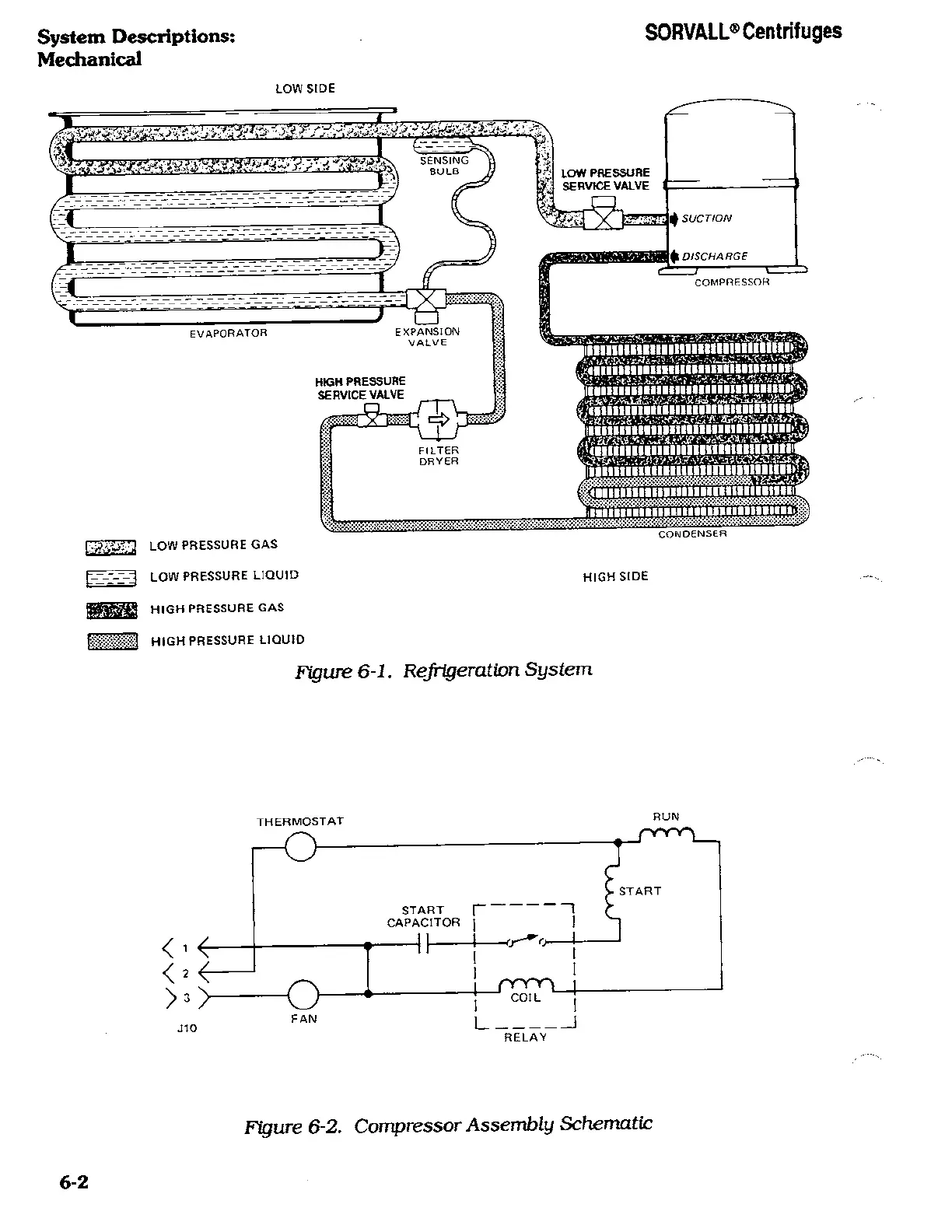
System
Descriptions:
Mechanical
SORVALL®
Centrifuges
LOW SIDE
^g^SS
LOW
PRESSURE GAS
|:-^:-:-j
LOW
PRESSURE
LIQUID
IgiagSJjja
HIGH
PRESSURE GAS
WJiSISi
HIGH PRESSURE LIQUID
Figure
6-1.
Refrigeration System
HIGH
SIDE
THERMOSTAT
RUN
<^<—————
<.<—————1
\
-,
\
/
3
/
J10
pO-
-o-J
FAN
START
CAPACITOR
r——II——'
11
^---
i—r^^n—i
COIL
------
RELAY
pryY^
•>START
(
6-2
Figure
6-2.
Compressor Assembly
Schematic

Related product manuals