EasyManua.ls Logo

Sorvall RT/T6000D - Page 129

Sorvall RT/T6000D
302 pages
Print Icon
To Next Page IconTo Next Page
To Next Page IconTo Next Page
To Previous Page IconTo Previous Page
To Previous Page IconTo Previous Page
Loading...
System
Descriptions:
Electrical
SORVALL®
Centrifuges
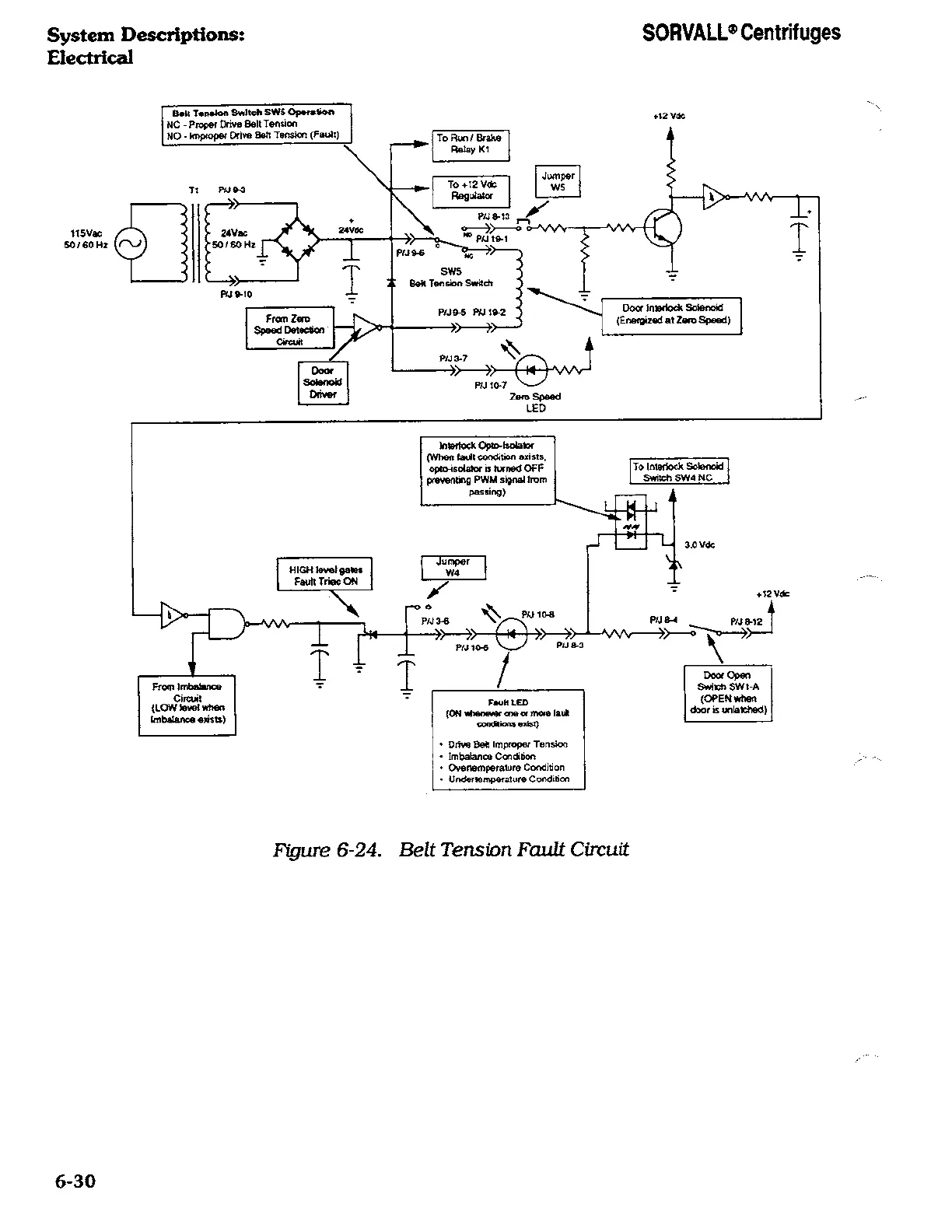
Figure
6-24. Belt
Tension Fault Circuit
6-30

Related product manuals