EasyManua.ls Logo

Sorvall RT/T6000D - Page 225

Sorvall RT/T6000D
302 pages
Print Icon
To Next Page IconTo Next Page
To Next Page IconTo Next Page
To Previous Page IconTo Previous Page
To Previous Page IconTo Previous Page
Loading...
RT6000B
and
T6000B
Centrifuges
Serial
Numbers
Below
9101800
SORVALL®
Centrifuges
m
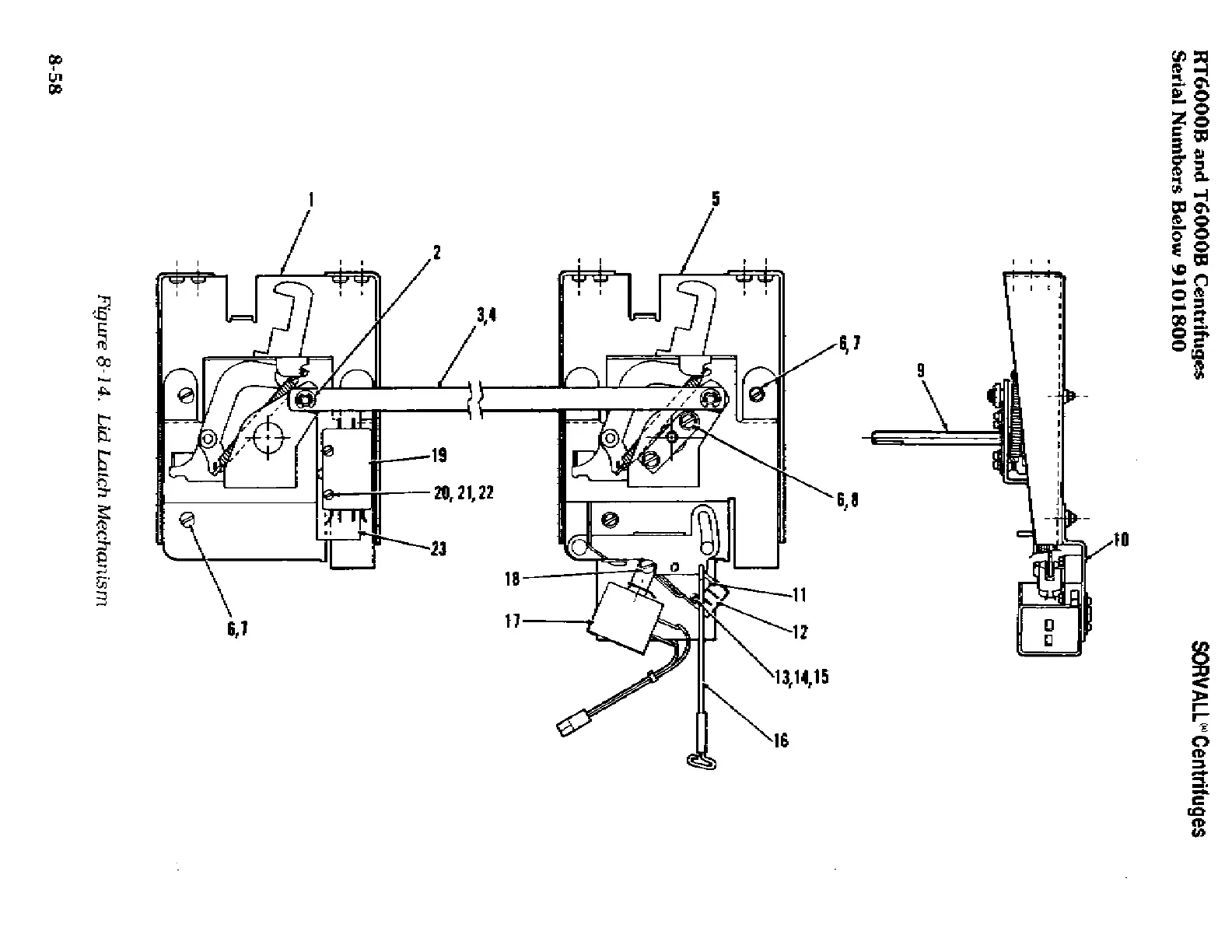
Figure
8-14.
Lid Latch
Mechanism
8-58

Related product manuals