EasyManua.ls Logo

Sorvall RT/T6000D - Page 260

Sorvall RT/T6000D
302 pages
Print Icon
To Next Page IconTo Next Page
To Next Page IconTo Next Page
To Previous Page IconTo Previous Page
To Previous Page IconTo Previous Page
Loading...
RT6000D, T6000D. RT6000B,
and
T6000B
Centrifuges
Serial
Number
9101800
and Above
SORVALL9
Centrifuges
,
5U
J
,
P10
1
\.
r
l
/
s
v
2>-T
-,
\
3
/
u
S—
^
/
-
\
^
/
8>-
FAULT 6
>-
OrEn
7
/•
9^
10
>-^————————,
L^^^^i—^.^«l>iJ .^^
n/C
^^^^^^——lkl
/^
n/C
—————N^C
Ul
^
1
y
6
r-^,
ii
-r
'<
urt-n
^
FAULT
3
^\,
<°°°"
3
\^,
n
" '" '
MU57173
i
tii ff*t
^
5
.,1
U2
f
/
^^r^r—k
i
1
\A
6
M
MU57173
100
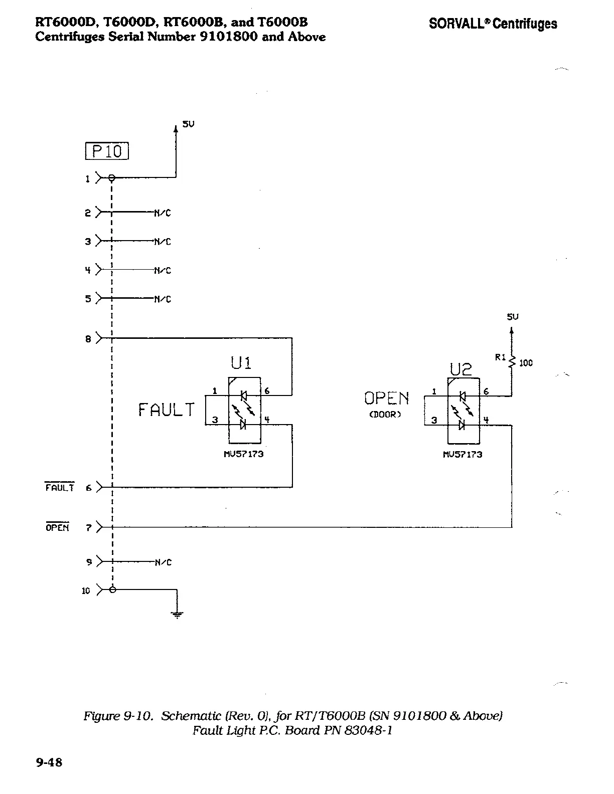
Figure
9-10. Schematic
(Rev.
0),
for
RT/T6000B (SN
9101800
&
Above)
Fault
Light
P.O.
Board
PN
83048-1
9-48

Related product manuals