EasyManua.ls Logo

Space SQ 300 - Page 86

Space SQ 300
106 pages
Print Icon
To Next Page IconTo Next Page
To Next Page IconTo Next Page
To Previous Page IconTo Previous Page
To Previous Page IconTo Previous Page
Loading...
30/04/07
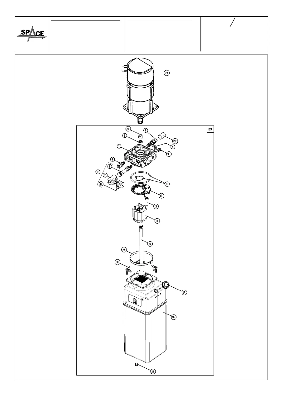
Denominazione tavola - Table definition
Valida per i modelli - Apply to models
N°tavola
Table no
Indice di modifica
Change index
0700-M001-0-P1
86
SQ 300 - SQ 350 - SQ 351
SQ 355 - SQ 400 - SQ 401 - SQ 405
SQ 501 - SQ 650 - SQ 800
4B/3
SQ 350 - SQ 351 - SQ 355 -
SQ 400 - SQ 401 - SQ 405 -
SQ 501 - SQ 501 L - SQ 800 -
SQ 650
CENTRALINA IDRAULICA
(TRIFASE 50-60Hz)
HYDRAULIC CONTROL BOX
(3-PHASE MOTOR 50-60Hz)

Table of Contents

Related product manuals