EasyManua.ls Logo

SPX FLOW APV GPHE - Page 81

SPX FLOW APV GPHE
85 pages
Print Icon
To Next Page IconTo Next Page
To Next Page IconTo Next Page
To Previous Page IconTo Previous Page
To Previous Page IconTo Previous Page
Loading...
INSTALLATION, OPERATION and MAINTENANCE MANUAL | 81
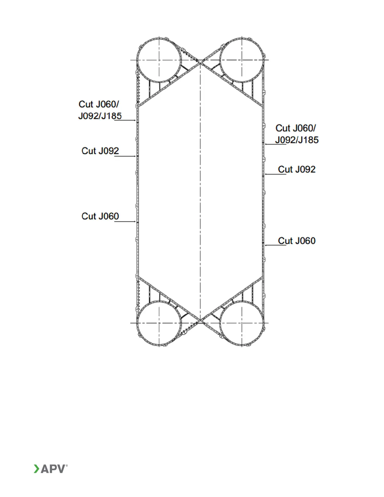
Figure 62: Multi-piece end gasket