EasyManua.ls Logo

SPX FLOW W71 - W71 MIX Proof Non-Seat Lift Valve

SPX FLOW W71
96 pages
Print Icon
To Next Page IconTo Next Page
To Next Page IconTo Next Page
To Previous Page IconTo Previous Page
To Previous Page IconTo Previous Page
Loading...
Parts Lists Waukesha Cherry-Burrell
®
Brand W70 Series Mix Proof Valves
Page 46 95-03087 10/2023
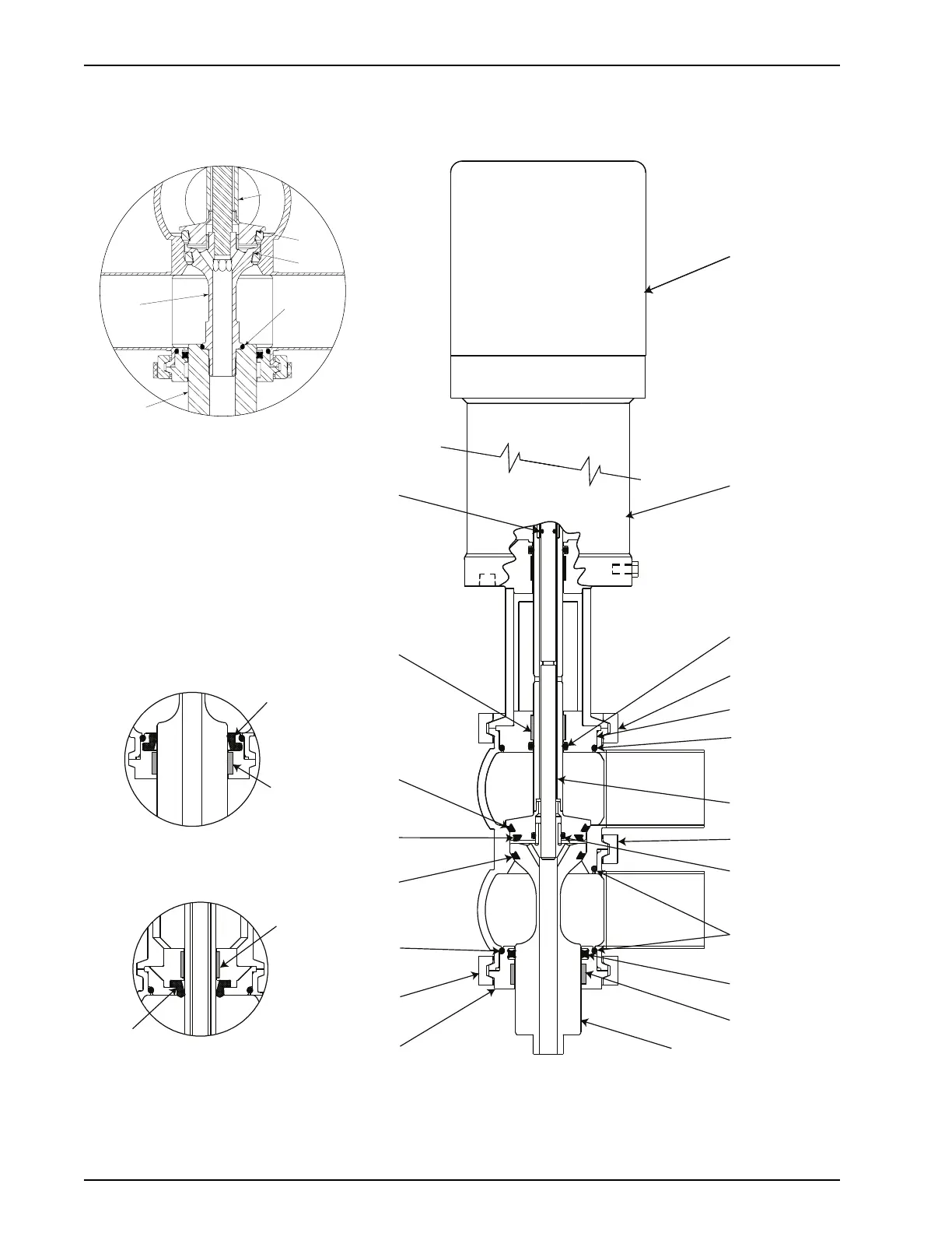
W71 Mix Proof Non-Seat Lift Valve
VA100-687
1
(20b)
(17b)
21b
5
14b
15
16
4
5
10a
11
12a
6
18
17a
3
21a, 21c
20a/c
15
14a
25
8a
6
6
18
18
VA100-717
16b
10b
12b
16b.2
16b.1
8b
Tef Flow
®
P Design

Table of Contents

Related product manuals