EasyManua.ls Logo

Srne ML2420 - Page 10

Srne ML2420
32 pages
Print Icon
To Next Page IconTo Next Page
To Next Page IconTo Next Page
To Previous Page IconTo Previous Page
To Previous Page IconTo Previous Page
Loading...
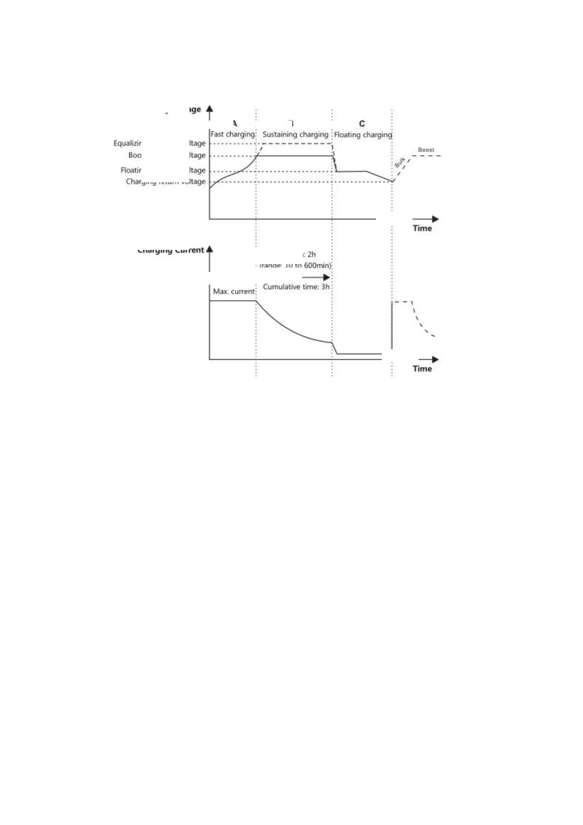
charging, sustaining charging and floating charging. The charging curve is as
shown below:
Fig. 1-5 Battery charging stages diagram
a) Fast charging
At the fast charging stage, as the battery voltage has not reached the set value of full voltage (i.e. equalizing/ boost
voltage) yet, the controller will perform MPPT charging on the battery with the maximum solar power. When the
battery voltage reaches the preset value, constant voltage charging will begin.
b) Sustaining charging
When the battery voltage reaches the set value of sustaining voltage, the controller
will switch to constant voltage charging. In this process, no MPPT charging will be
performed, and meanwhile the charging current will also gradually decrease. The
sustaining charging stage itself consists of two sub-stages, i.e. equalizing charging
and boost charging, the two of which are not carried out in a repeated manner, with
the former getting activated once every 30 days.
Time

Related product manuals