EasyManua.ls Logo

STARTRITE 352SB - Using The Machine; Blade Selection and Maintenance

Default Icon
23 pages
Print Icon
To Next Page IconTo Next Page
To Next Page IconTo Next Page
To Previous Page IconTo Previous Page
To Previous Page IconTo Previous Page
Loading...
4. Using The Machine
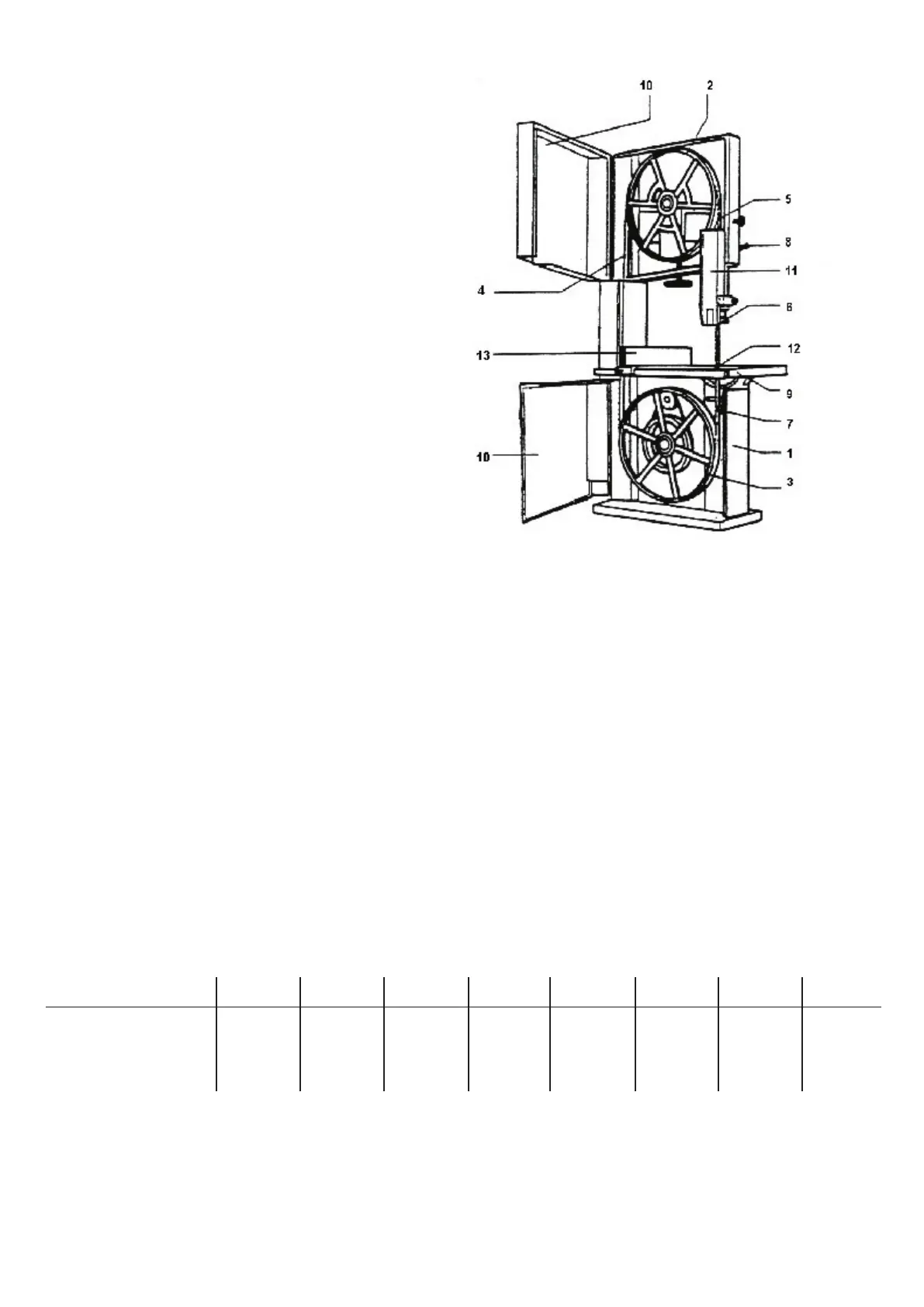
4.1 PRINCIPAL MACHINE PARTS
1 Base
2 Upper bandwheel
3 Lower bandwheel
4 Blade upward portion
5 Blade downward portion
6 Upper blade guide
7 Lower blade guide
8 Blade guide height adjustment
9 Table
10 Bandwheel door guard
11 Adjustable blade guard
12 Table insert
13 Rip fence
ATTENTION!! DISCONNECT THE ELECTRICAL SUPPLY
BEFORE EVERY ADJUSTMENT
ATTENTION!! IN CASES OF BLADE BREAKAGE WAIT UNTIL
THE UPPER
BANDWHEEL HAS COMPLETELY STOPPED
BEFORE OPENING THE DOOR.
4.2 CHOICE AND MAINTENANCE OF BLADES
The table below defines the blade length and maximum width, depending on the type of the machine.
Selection of width and type of tooth depends upon the materials to be cut and the type of operation, narrow blades are suitable for
cutting curved lines, profiles etc.., wide blades are best for straight cutting.
It is advisable to use finer teeth for hard woods or thin material and coarser teeth for softwoods or deep material. In every case, the
distance between each tooth should be sufficient to clear the sawdust produced during the cutting operation. If the clearance is not
correct this can cause overheating and jamming of the blade, causing subsequent breakage .
Do not use flawed or deformed blades.
It is highly recommended that the blade be changed regularly. Use a specialised saw doctor for welding, sharpening and re-setting
blades. The use of high quality blades is also recommended
Causes of blade breakage:
Excessive blade thickness in relation to the bandwheel size.
Defective welding
Incorrect tension, particularly if the blade is over tensioned the tension spring no longer fulfils its function
Overloading the blade caused by using a badly ground or badly set blade, or by not slackening the tension
• After use it is recommended to slacken the tension, especially overnight, (placing a visible notice of this operation on the machine).
Re-tension before next next operation.
Misalignment of the bandwheels due to unauthorized intervention of the regulating screws of the lower bandwheel.
Irregularity of bandwheels surface, e.g an accumulation of sawdust whilst cutting resinous materials.
352SB* 401S 440R 501S 581S 681S 781S
Blade Length (Min) 3560mm / 141” 3850 4060mm / 160” 4170mm / 165 4610mm / 182” 5100mm / 201” 5750mm / 227”
Blade Length (Max) 3640mm / 143” 4170mm / 164 4280mm / 168” 4680mm / 184” 5150mm / 203 5820mm / 229”
Blade Width mm 6 - 30 6 - 30 6 - 50 6 - 35 6 - 35 6 - 40 6 - 45
401E
Blade Length 3850mm
Blade Width mm 6 - 30

Related product manuals