EasyManua.ls Logo

STARTRITE 403 - Parts Lists and Diagrams - 603;UK3

STARTRITE 403
40 pages
Print Icon
To Next Page IconTo Next Page
To Next Page IconTo Next Page
To Previous Page IconTo Previous Page
To Previous Page IconTo Previous Page
Loading...
30
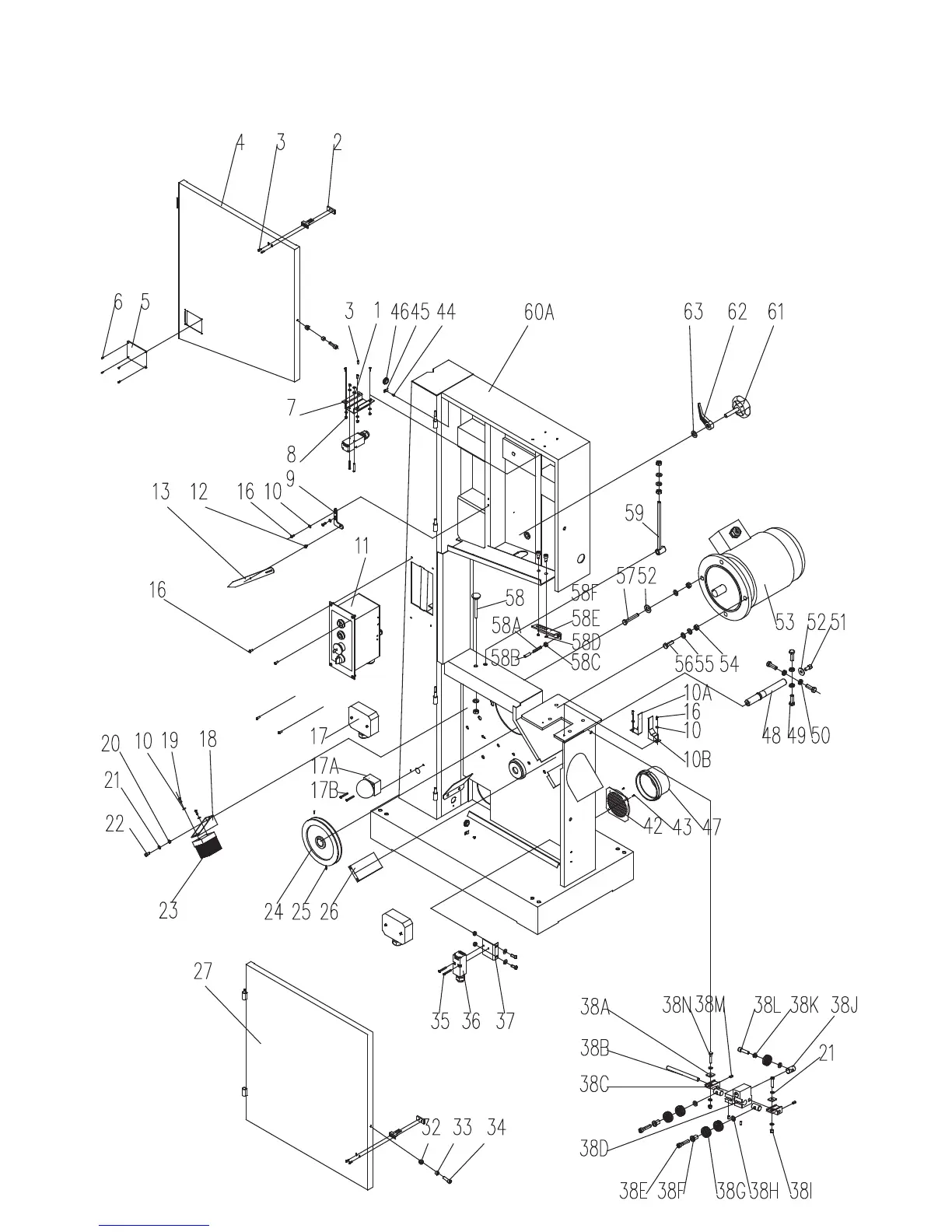
13. Parts Lists and Diagrams - 603/UK3
Frame Assembly

Related product manuals