EasyManua.ls Logo

STIEBEL ELTRON Accelera 220 E - Page 40

STIEBEL ELTRON Accelera 220 E
108 pages
Print Icon
To Next Page IconTo Next Page
To Next Page IconTo Next Page
To Previous Page IconTo Previous Page
To Previous Page IconTo Previous Page
Loading...
40 | Accelera® 220-300 E www.stiebel-eltron-usa.com
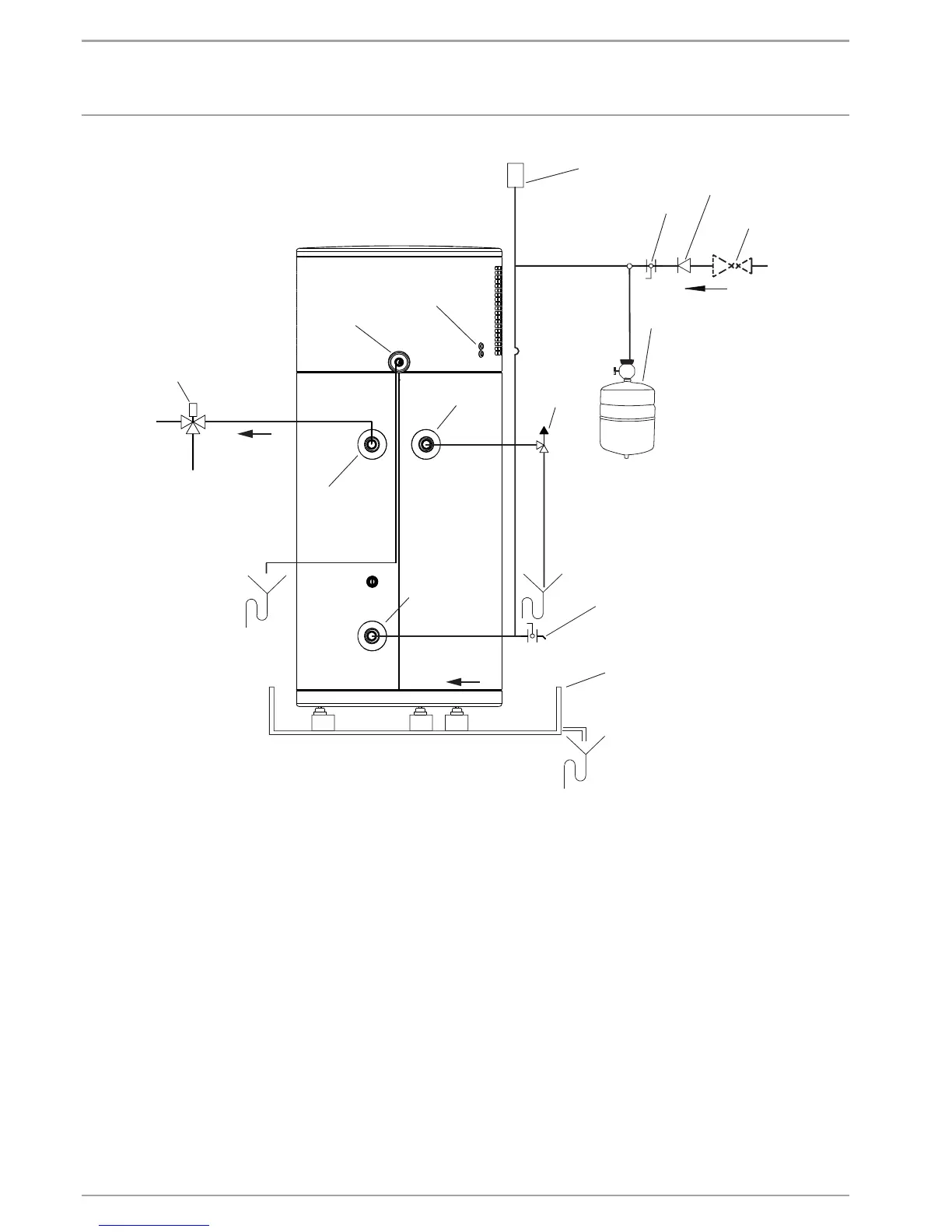
FUNCIONAMIENTO
H
M
C
Agua fría
Agua
caliente
2
11
14
12
13
10
3
4
5
6
7
8
9
1
1 Igualador de presión
2 Conexión de agua caliente (1 pulg. NPT)
3 lvula mezcladora (opcional, provista por el instalador)
4 Conexión para la válvula de T&P (¾ pulg. NPT)
5 lvula de T&P de ¾˝ NPT, 100 psi a 210 ° F (0.69 MPa a 99 °C) (provista con la
unidad)
6 Tanque de expansión tamaño mín. recomendado*: 5 gal (19 l) (requerido, pro-
visto por el instalador)
7 lvula de cierre directo (provista por el instalador)
8 lvula de retención (requerida, provista por el instalador)
9 lvula de reducción de presión de 70 psi (0.48 MPa) (requerida, provista por
el instalador)
10 Conexión de agua fría (1 pulg. NPT)
11 Drenaje de condensado (¾ pulg. R a ½ pulg. codo de púas, incluido con la
unidad)
12 Válvula de drenaje (provista por el instalador)
13 Bandeja de drenaje (provista por el instalador)
14 Excedente de condensado
* Este recomendación basada en la presión de entrada de 70 psi, vaso de expansión
precargar a 70 psi, 140 ° F (60 ° C) máx. la temperatura del tanque, todo el contenido
del tanque no se drenan en cada uso, y llenad la temperatura es de 70 ° F (21.1 ° C).

Table of Contents

Related product manuals