EasyManua.ls Logo

Strend Pro E40 - Page 6

Strend Pro E40
Print Icon
To Next Page IconTo Next Page
To Next Page IconTo Next Page
To Previous Page IconTo Previous Page
To Previous Page IconTo Previous Page
Loading...
- Opätovný stlačením tlačidla znova spustite kontinuálne meranie.
Obr. D
Meranie plochy
- Keď je zariadenie zapnuté, stlačte tlačidlo pre výber funkcií .
- Vyberte meranie plochy .
- Odmerajte šírku a dĺžku ako pri jednorazovom meraní.
- Medzi obidvomi meraniami zostane laserový lúč zapnutý.
- Prvá nameraná hodnota sa zobrazí hore na displeji.
- Po skončení druhého merania sa automaticky vypočíta a zobrazí plocha.
- Konečný výsledok sa zobrazí dolu na displeji, jednotlivé namerané hodnoty nad tým.
Meranie objemu
- Keď je zariadenie zapnuté, stlačte tlačidlo pre výber funkcií .
- Vyberte meranie objemu .
- Odmerajte šírku, dĺžku a hĺbku ako pri jednorazovom meraní.
- Medzi týmito tromi meraniami zostane laserový lúč zapnutý.
- Prvá nameraná hodnota sa zobrazí hore na displeji.
- Po skončení tretieho merania sa automaticky vypočíta a zobrazí objem.
- Konečný výsledok sa zobrazí dole na displeji, jednotlivé namerané hodnoty nad tým.
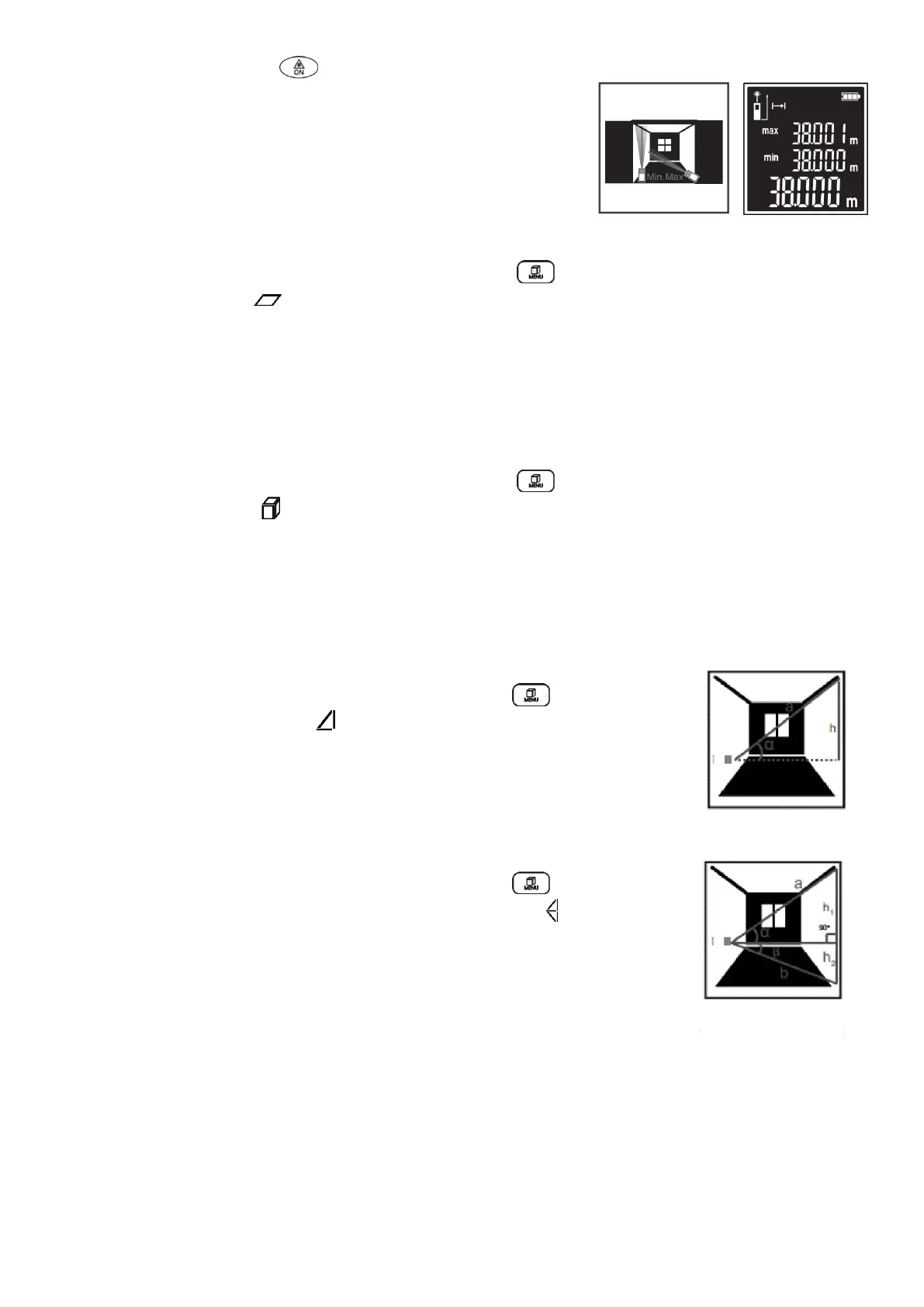
Nepriame meranie výšky (Pytagorova veta)
- Keď je zariadenie zapnuté, stlačte tlačidlo pre výber funkcií .
- Vyberte nepriame meranie výšky .
- Dbajte na to, aby bol merací prístroj v rovnakej výške ako dolný bod merania.
- Odmerajte ako pri meraní vzdialenosti úsek „a.
- Po skončení merania sa výsledok pre hľadanú výšku h“ zobrazí dole na displeji.
Namerané hodnoty pre vzdialenosť a“ a pre uhol „α“ budú zobrazené nad tým.
Dvojité nepriame meranie výšky (2x Pytagorova veta +)
- Keď je zariadenie zapnuté, stlačte tlačidlo pre výber funkcií .
- Vyberte dvojité nepriame meranie výšky (2x Pytagorova veta +) .
- Postupom ako pri meraní vzdialenosti odmerajte vzdialenosti a“ a „b“ v
uvedenom poradí.
- Po skončení merania sa výsledok pre hľadanú výšku „hzobrazí dole na displeji.
- Namerané hodnoty pre vzdialenosti a a „b a pre uhol „β“ budú zobrazené
nad tým.
- Dávajte pritom pozor na to, aby východisková počiatočná pozícia merania (napr. zadná hrana meracieho
prístroja) bola pri všetkých meraniach presne na tom istom mieste.