EasyManua.ls Logo

Strobel 141-23EV - Chaniging the Looper

Strobel 141-23EV
40 pages
Print Icon
To Next Page IconTo Next Page
To Next Page IconTo Next Page
To Previous Page IconTo Previous Page
To Previous Page IconTo Previous Page
Loading...
23 MA_141_142_A10-6-7-3-6-5_130617_en
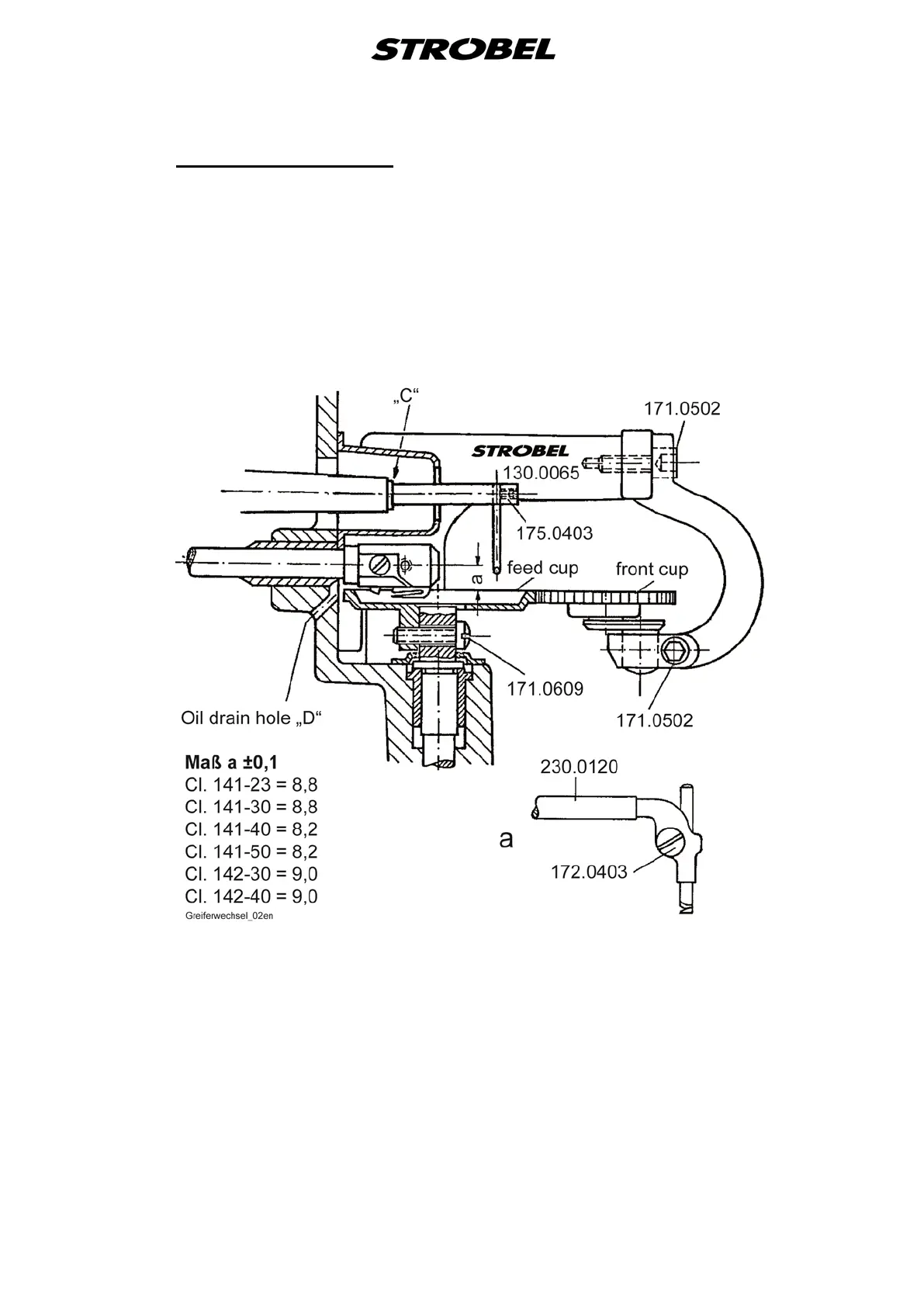
4.12 Chaniging the looper
The looper can be removed after loosening clamping screw 175.0403 (Cl. 141-
40/-50) (Fig. 12) and 172.0403 (Cl. 141-23/-30 and 142-30/-40) (Fig. 12a)
respectively, at looper shaft head.
Upon mounting a new looper, take care that it touches the needle neither in its
front position nor in its rear position. (Also refer to setting data)
The wide gripper back should be standing as parallel as possible to the needle.
Fig. 12

Related product manuals