EasyManua.ls Logo

studio casa DIVA DE LUXE - Filling the Coffee Bean Container; Hot Water

studio casa DIVA DE LUXE
Print Icon
To Next Page IconTo Next Page
To Next Page IconTo Next Page
To Previous Page IconTo Previous Page
To Previous Page IconTo Previous Page
Loading...
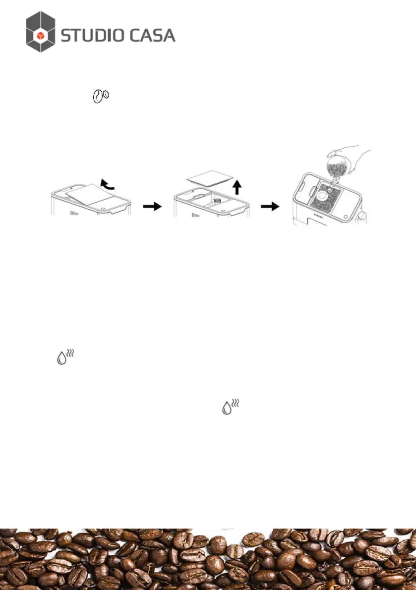
FILLING THE COFFEE BEAN CONTAINER
When is flashing, the appliance needs to be filled with
coffee beans.
1. Remove the bean container lid.
2. Slowly pour in the coffee beans.
3. Place the bean container lid to its original position.
Important: Fill the coffee bean container with coffee beans only.
Do not use ground coffee, instant coffee powder, caramelized
coffee bean and any other objects.
HOT WATER
Hot water can be dispensed by pressing the hot water button
. The hot water button will light up and the appliance is
preparing the hot water. When the light turns off, the water is
ready to serve.
Note : Press the hot water button anytime to stop.
DAILY CLEANING OF THE APPLIANCE
Timely cleaning and maintenance of the appliance is very
important to prolong the life of the appliance.