EasyManua.ls Logo

Subaru 2014 Outback - Page 31

Subaru 2014 Outback
90 pages
Print Icon
To Next Page IconTo Next Page
To Next Page IconTo Next Page
To Previous Page IconTo Previous Page
To Previous Page IconTo Previous Page
Loading...
)012(%3#-45,%6#-4+7(5+8
/:
x ]N- ('#- 8#10- 3#'%L8#- %6- 7+- 8+7&#5- (51L>#0
I%('%7- 1- 0%6(17L#- +N- 1225+W%?1(#8"- 9AA- N(
SeA- ?T- 170- 1- 62##0- +N- 1225+W%?1(#8"- /A
C;_-SeA->?Z'T-+5-8#66-%6-0#(#L(#0U-1-*,OO#5
6+,706- 6%7&8#- 8+7&- *##2- 170- )012(%3#
45,%6#-4+7(5+8-N,7L(%+7-%6-L17L#8#0P-
)(- ('%6- (%?#U- ('#- 8#10- 3#'%L8#- %70%L1(+5
N816'#6P
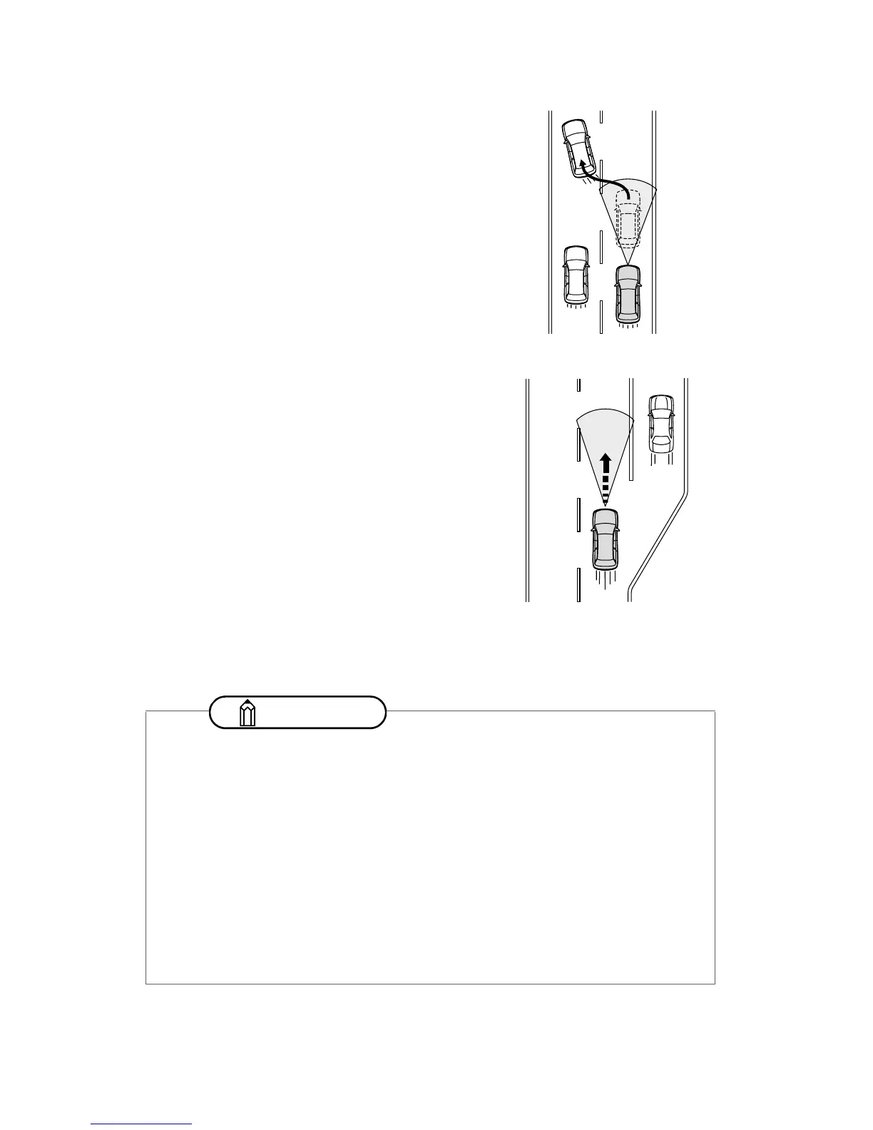
]N- ('#- 3#'%L8#- %7- N5+7(- %6- 7+- 8+7&#5- 0#(#L(#0
,70#5- L+70%(%+76- +('#5- ('17- ('#- 25#3%+,6
+7#6U- ('#- 3#'%L8#- &510,188"- 1LL#8#51(#6- *1L>
(+-('#-6#(-(15&#(-3#'%L8#-62##0-170-I%88-05%3#-1(
('1(-L+76(17(-62##0P
]N-1-3#'%L8#-%7-N5+7(-%6-0#(#L(#0-I'%8#-1LL#8#51(<
%7&- (+- ('#- 6#(- (15&#(- 3#'%L8#- 62##0U- 3#'%L8#
(51L>%7&-I%88-*#-6(15(#0-1&1%7P
NOTE
x B'#-(15&#(-3#'%L8#-62##0-L17-*#-6#(-*#(I##7-/H-C;_-S@A->?Z'T-170-DA
C;_-S9@H->?Z'TP
x ]N-('#-3#'%L8#-62##0-%6-1225+W%?1(#8"-/H-C;_-S@A->?Z'T-+5-8#66-I'#7-('#
3#'%L8#-62##0-%6-6#(U-('#-6#(-3#'%L8#-62##0-%6-6#(-(+-/H-C;_-S@A->?Z'TP
x G'#7- ('#- *51>#6- 15#- 1228%#0- *"- )012(%3#- 45,%6#- 4+7(5+8U- ('#- 3#'%L8#\6
*51>#-8%&'(6-I%88-%88,?%71(#P
x B+-(#?2+515%8"-1LL#8#51(#-^,%L>8"U-,6#-('#-1LL#8#51(+5-2#018P-)N(#5-1LL#8#5<
1(%7&U-('#-3#'%L8#-I%88-&510,188"-5#(,57-(+-('#-6#(-(15&#(-3#'%L8#-62##0-6'+I7
%7-('#-&1,&#-L8,6(#5P
x !3#7-%N-('#5#-%6-7+-8#10-3#'%L8#-25#6#7(U-+7-1-0+I7'%88-&510#U-('#-)012(%3#
45,%6#-4+7(5+8\6-1,(+?1(%L-*51>#-?1"-+2#51(#-%7-+50#5-(+-?1%7(1%7-('#-6#(
(15&#(-3#'%L8#-62##0P
S00645
S00646

Related product manuals