EasyManua.ls Logo

Suburban SA25N - Installing Thermostat

Default Icon
14 pages
Print Icon
To Next Page IconTo Next Page
To Next Page IconTo Next Page
To Previous Page IconTo Previous Page
To Previous Page IconTo Previous Page
Loading...
5
Figure 2 - Wall Openings and Screw
Locations
Figure 3 - Connecting Thermostat Wires to
Thermostat
Figure 3 - Connecting Thermostat Wires to
Thermostat
Figure 4 - Attaching Thermostat to
Thermostat Mounting Plate
Figure 5 - Inserting Thermostat Mounting
Plate Between Wall and Cabinet Flange
INSTALLATION
(Continued)
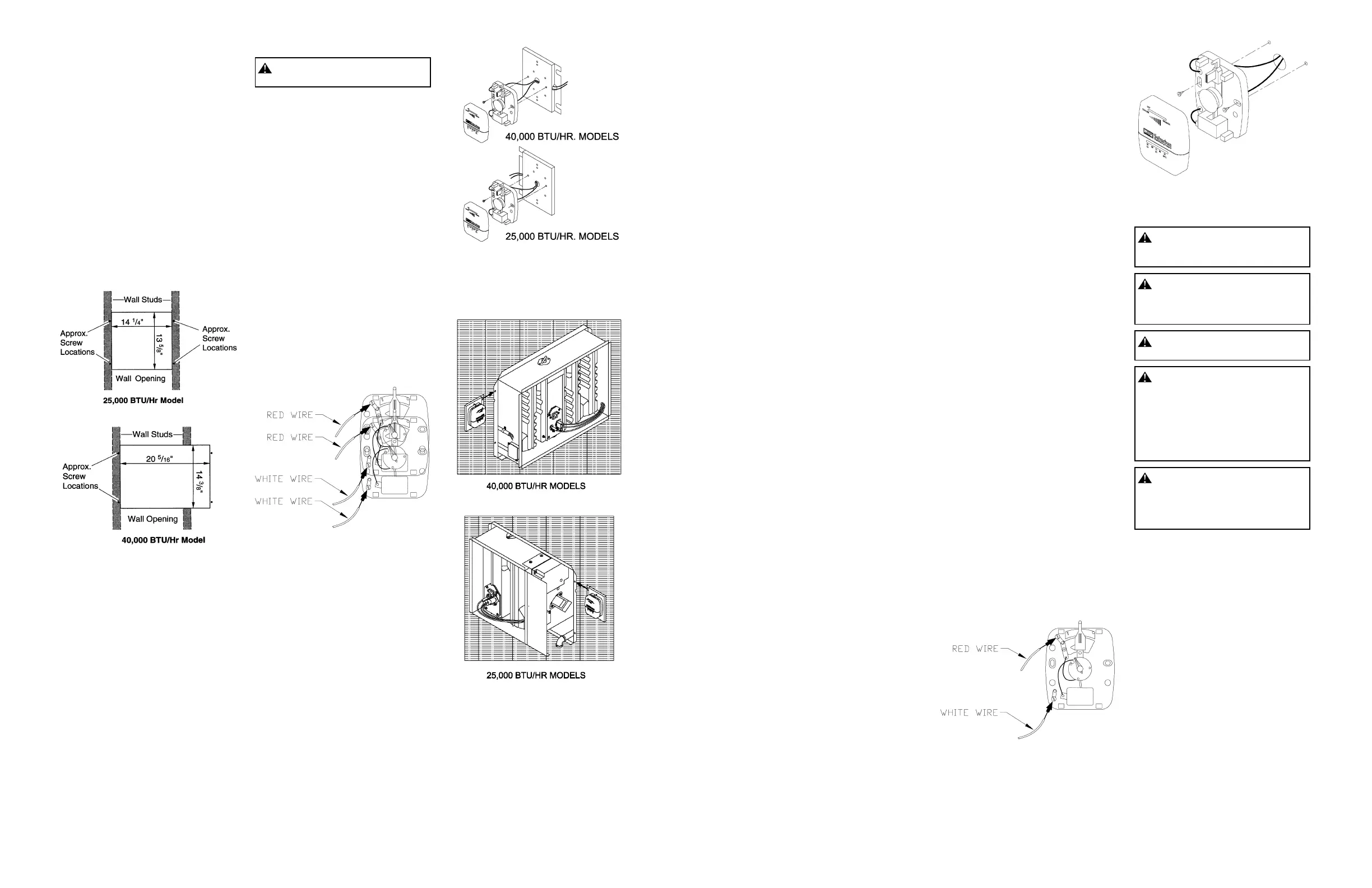
5. 25,000 BTU/Hr Model: Use a proper-
sized drill bit. Drill holes through wall
and into studs at marked locations.
40,000 BTU/Hr Model: Use a proper-
sized drill bit. On wall stud side of
opening, drill holes through wall and
into studs at marked locations. On
other side, drill holes through wall
material.
6. Insert furnace into opening. Do this
from inside the room. Secure furnace
to wall with four large screws
provided.
7. On outside of wall, caulk opening be-
tween the cabinet and the rough
edges of opening.
Installing in Masonry Wall
You can mount both models in a masonry
wall. Follow the steps below to install.
1. Cut opening in wall. Make opening 14
1/4" wide by 13 5/8" high for 25,000
BTU/Hr models. Make opening 20
5/16" wide by 14 3/8" high for 40,000
BTU/Hr models. IMPORTANT: You
must install furnace horizontally. Do
not install furnace vertically.
2. Secure furnace to wall with toggle
bolts or hook bolts set in mortar.
3. Insert furnace into opening. Do this
from inside the room. Secure furnace
to wall with toggle bolts or hook bolts.
4. On outside of wall, caulk opening be-
tween the cabinet and the rough
edges of opening. You can also use
mortar to seal opening.
INSTALLING THERMOSTAT
WARNING: Unplug furnace be-
fore installing thermostat.
Mount the thermostat directly on the fur-
nace or on a wall in another part of the
room. If you have solid or masonry walls,
mount the thermostat on the furnace.
Mounting Thermostat to Furnace
for Built-in Thermostat Operation
1. Unplug furnace.
2. Locate red and white thermostat
wires coming out of side of furnace.
These wires are labeled "Thermo-
stat."
3. Cut thermostat wires to desired
length.
4. Route thermostat wires through
slot/hole in side of thermostat
mounting plate. Then route wires
through 5/8" diameter hole in center
of plate (see Figure 4).
5. Connect thermostat wires to the two
terminal screws on back of thermostat
(see Figure 3). Connect red wire to
"R" terminal. Connect white wire to
"W" terminal.
6. Attach thermostat to thermostat
mounting plate with screws provided
(see Figure 4). IMPORTANT: Note
mounting plate position in Figure 4.
Correctly position mounting plate for
your model furnace.
7. Insert thermostat mounting plate be-
tween wall and cabinet flange. Line up
top notch on mounting plate with top
screw on flange (see Figure 5).
IMPORTANT: Thermostat for 25,000
BTU/Hr model mounts on right side of
furnace (see Figure 5). Thermostat
for 40,000 BTU/Hr model mounts on
left side of furnace (see Figure 5).
8. Insert screw in cabinet flange and
thermostat mounting plate and tighten
firmly. IMPORTANT: Make sure
thermostat wires do not touch
combustion chamber.
6
Figure 6 - Connecting Thermostat Wires
to Thermostat
Figure 7 - Mounting Thermostat to Wall
INSTALLATION
(Continued)
Locating and Mounting
Thermostat on Wall
1. Locate thermostat 4 1/2 to 5 feet
above the floor on an inside wall away
from any heat sources. The
thermostat needs to sense average
room temperature. Avoid the
following:
HOT SPOTS
Concealed pipes or ducts
Fireplaces
Registers
TV sets and radios
Lamps or direct sunlight
Kitchen
COLD SPOTS
Concealed pipes or ducts
Stairwells (drafts) or doors (drafts)
Unheated rooms on other side of wall
DEAD SPOTS
Behind doors
Corners and alcoves
2. Before installing thermostat, inspect
the wall, floor, and attic areas. Make
sure there are no pipes, wiring or
anything else that would interfere with
installing thermostat. Do not mount
thermostat to stud. If there are any
obstructions, choose a new location.
3. Provide two 18-gauge insulated
stranded wires for the thermostat
wire. Also provide two wire nuts, and
two wall anchors. There is a red and a
white thermostat wire coming from
the furnace. The extra thermostat
wires you furnish attach to these
wires. Make sure you furnish a red
and a white wire. This will insure
correct hookup. Purchase enough
thermostat wire to go from the furnace
to the thermostat location. Do not cut
and splice this wire. The thermostat
wire must be unbroken.
Routing Thermostat Cable
All wiring must meet local codes. The
following instructions cover routing the
wire through the attic. You can run wiring
from a basement or crawl space.
1. Unplug furnace.
2. Before drilling hole in wall, drive a
small finishing nail through ceiling
directly above thermostat location.
Pull nail out and push a small stiff wire
through hole. This helps you locate
thermostat mounting location when in
attic.
3. In attic, locate stiff wire. Drill 1/2" hole
in center of ceiling wall plate next to
stiff wire. Remove wire.
4. Probe through drilled hole in wall plate
with a stiff wire to make sure there are
no pipes, wiring, or anything else
blocking the way for thermostat wires.
If you find blockage, choose new
location for thermostat.
5. Drill a 1/2" hole through the wall at
thermostat mounting location.
6. From attic, feed thermostat wires
through hole in ceiling plate until wires
reach thermostat location.
7. Make a small hook with a piece of stiff
wire. Run wire hook through 1/2" hole
in wall. Hook thermostat wires. Pull
wires through hole in wall. Make sure
6" of wires stick out.
8. Drive a small finishing nail in ceiling
above furnace.
25,000 BTU/Hr Model - Drive nail
above right side of furnace.
40,000 BTU/Hr Model - Drive nail
above left side of furnace. Pull nail out
and push a small stiff wire through
hole. This helps you locate wire
routing location when in attic.
9. Repeat steps 3 and 4 above.
10. Feed thermostat wires from attic to
furnace through 1/2" hole in ceiling
wall plate.
11. Connect thermostat wires from attic to
thermostat wires on furnace. Connect
red wires together, then connect
white wires together. Use wire nuts to
make connections. IMPORTANT:
Make sure thermostat wires do not
touch combustion chamber.
Mounting the Thermostat to Wall
1. Connect thermostat wires to the two
terminal screws on back of thermostat
(see Figure 6). Connect red wire to
"R" terminal. Connect white wire to
"W" terminal.
2. Push any excess wire back through
hole in wall and plug hole with
insulation to prevent drafts. Drafts
affect the thermostat operation.
3. Use thermostat base to mark
mounting screw locations.
4. Drill proper-sized holes for wall
anchors.
5. Attach thermostat to wall using
screws provided (see Figure 7)
.
CONNECTING TO GAS
SUPPLY
WARNING: A qualified service
person must connect furnace to gas
supply. Follow all local codes.
WARNING: Never connect fur-
nace to private (non-utility) gas
wells. This gas is commonly known
as wellhead gas.
WARNING: Unplug furnace be-
fore connecting to gas supply.
CAUTION: Use only new, black
iron or steel pipe. Copper tubing may
be acceptable in certain areas.
Check local codes. Use pipe large
enough in diameter to allow proper
gas volume to furnace. If pipe is too
small, undue loss of pressure will
occur. Refer to chart on page 8 or 9.
CAUTION: Lightly apply pipe joint
sealant to male threads before
connecting. Use pipe joint sealant
that is resistant to liquid petroleum
(LP) gas.
All piping must comply with local codes
and ordinances or with the National Fuel
Gas Code (ANS Z223.1 NFPA No. 54),
whichever applies.
You can connect furnace to gas supply at
front of furnace (inside) or at rear of
furnace (outside).

Related product manuals