EasyManua.ls Logo

Sullair DMD-20 - Dmd75-Dmd100-Dmd120

Sullair DMD-20
46 pages
Print Icon
To Next Page IconTo Next Page
To Next Page IconTo Next Page
To Previous Page IconTo Previous Page
To Previous Page IconTo Previous Page
Loading...
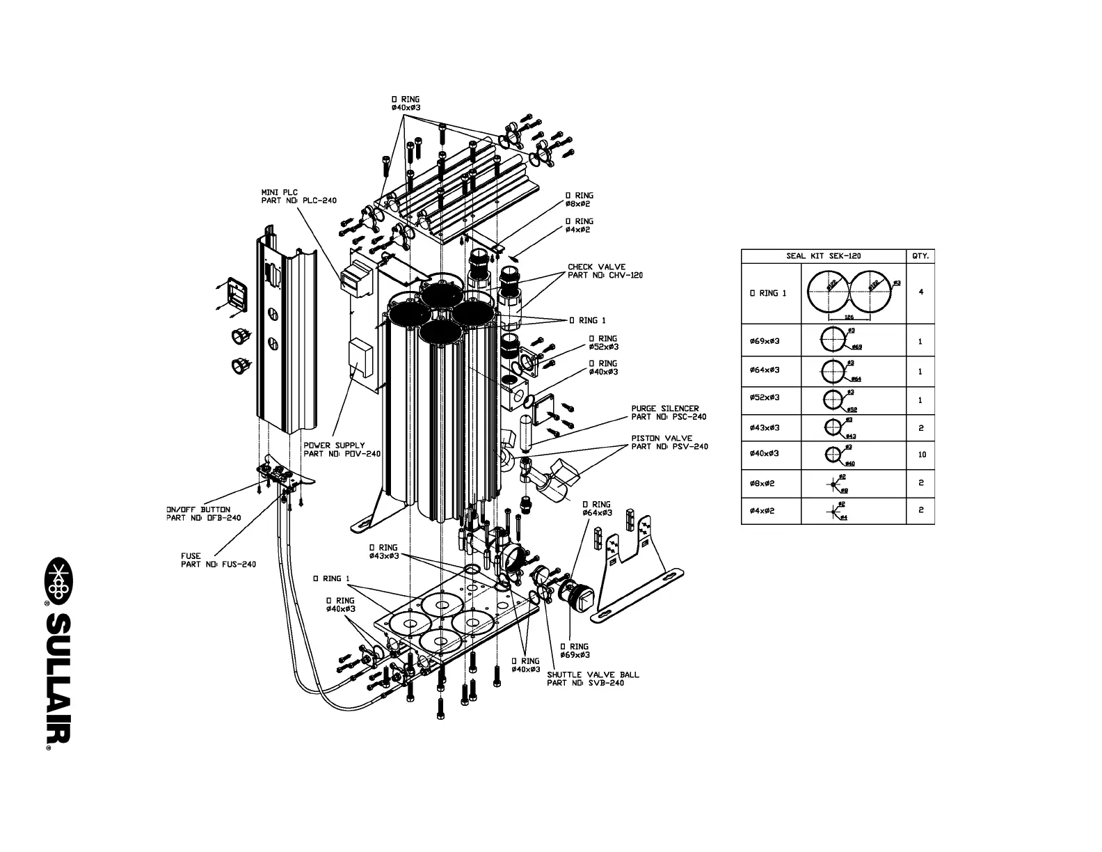
DMD MODULAR REGENERATIVE DRYER SECTION 7
40
7.4 DMD75-DMD100-DMD120

Related product manuals