EasyManua.ls Logo

Sullair DMD-40 - Diagrams and Schematics

Sullair DMD-40
46 pages
Print Icon
To Next Page IconTo Next Page
To Next Page IconTo Next Page
To Previous Page IconTo Previous Page
To Previous Page IconTo Previous Page
Loading...
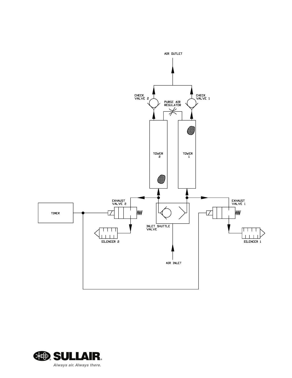
SECTION 4 DMD MODULAR REGENERATIVE DRYER
19
4.1 P&I—DMD 3-60
02250195-322

Related product manuals