EasyManua.ls Logo

Sullair DMD-40 - P&I-DMD 75-120

Sullair DMD-40
46 pages
Print Icon
To Next Page IconTo Next Page
To Next Page IconTo Next Page
To Previous Page IconTo Previous Page
To Previous Page IconTo Previous Page
Loading...
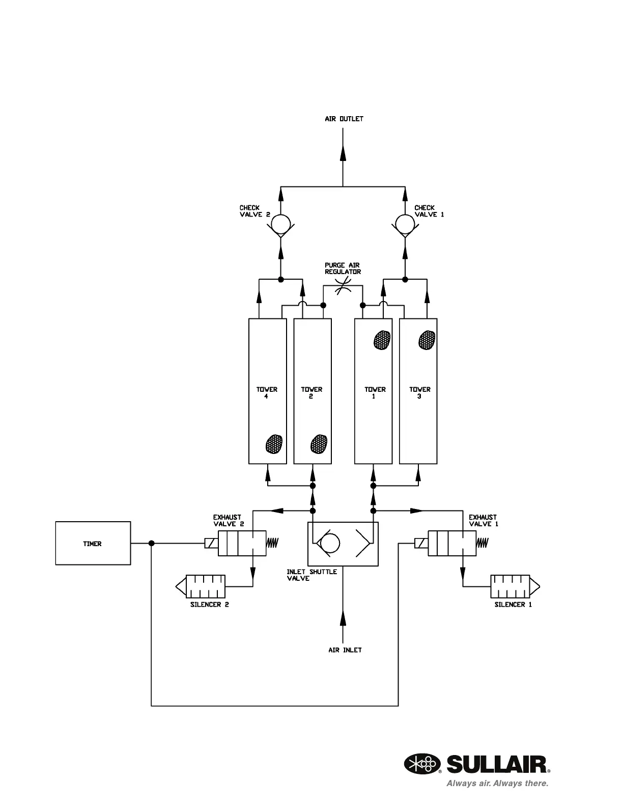
DMD MODULAR REGENERATIVE DRYER SECTION 4
20
4.2 P&I—DMD 75-120
02250196-454

Related product manuals