EasyManua.ls Logo

Sullair DMD-50 - Dmd3-Dmd5-Dmd10

Sullair DMD-50
46 pages
Print Icon
To Next Page IconTo Next Page
To Next Page IconTo Next Page
To Previous Page IconTo Previous Page
To Previous Page IconTo Previous Page
Loading...
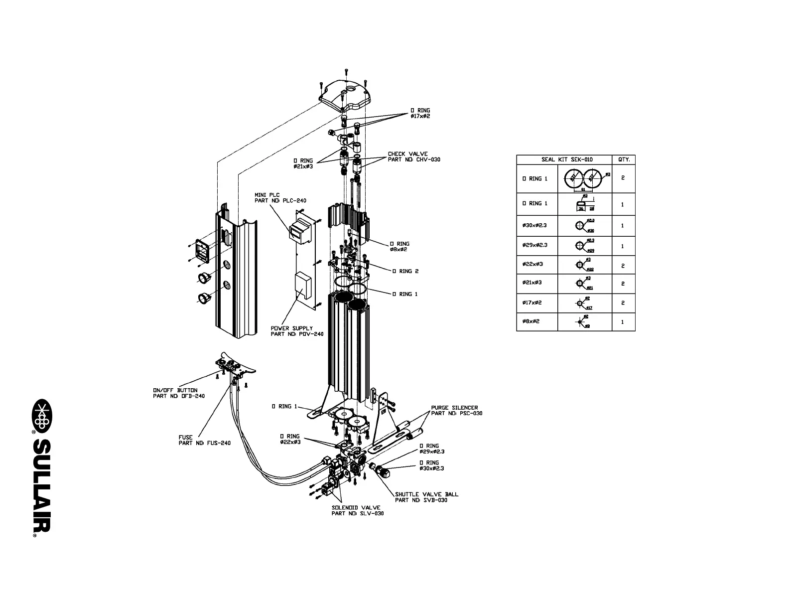
DMD MODULAR REGENERATIVE DRYER SECTION 7
37
7.1 DMD3-DMD5-DMD10

Related product manuals