EasyManua.ls Logo

Sumitomo CX - Page 7

Sumitomo CX
18 pages
Print Icon
To Next Page IconTo Next Page
To Next Page IconTo Next Page
To Previous Page IconTo Previous Page
To Previous Page IconTo Previous Page
Loading...
HMP-1817E 6 (7/18)
a) Power cable
If the wiring distance is long, because voltage drop becomes high, make sure to use the wire
of appropriate diameter.
Please wire so that the cable is not damaged at cable inlet during operation.
b) Connection of lead wires
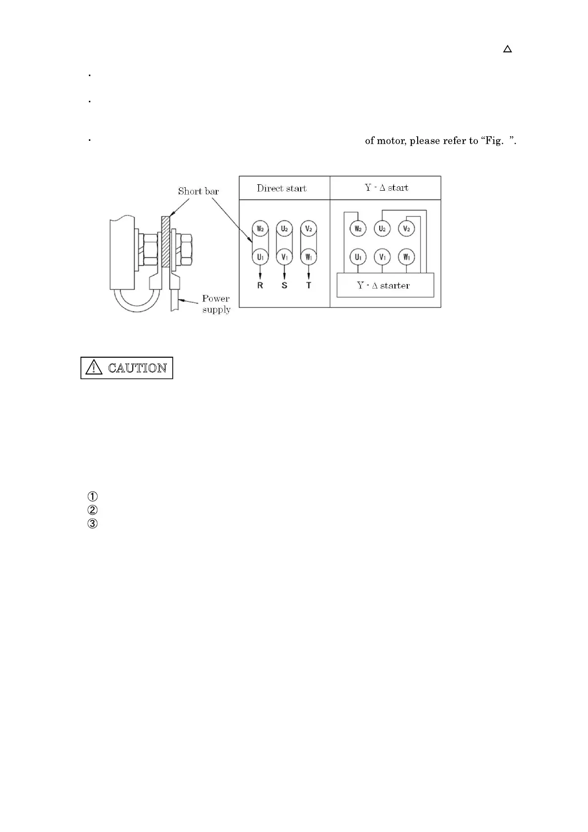
For connection between the power cable and lead wires 2
Fig. 2 Connecting diagram
! CAUTION 1. Please do not short-circuit between wires.
2. In case of Y - D start connection, please remove the short bar.
c) Grounding
You can find earth terminal provided inside the terminal box, then make sure to ground it .
d) Procedure of wiring
Remove the terminal box cover.
Mount the crimp-type terminal lug to power cable and clamp it.
After connection, make sure to mount the terminal box cover in place again.

Related product manuals