EasyManua.ls Logo

Sundyne LMC 341F - Seal Arrangement Drawings; Single, Double, and Tandem Configurations

Default Icon
82 pages
Print Icon
To Next Page IconTo Next Page
To Next Page IconTo Next Page
To Previous Page IconTo Previous Page
To Previous Page IconTo Previous Page
Loading...
28
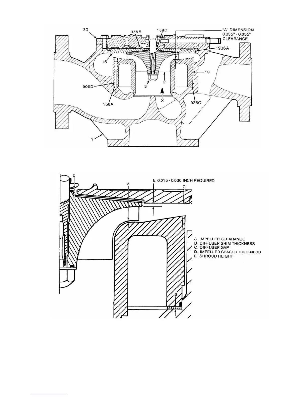
Figure 5.1. Compressor Cross-Section and Clearances