EasyManua.ls Logo

Sunfire Theater Grand Processor III - Tuner Operation

Sunfire Theater Grand Processor III
60 pages
Print Icon
To Next Page IconTo Next Page
To Next Page IconTo Next Page
To Previous Page IconTo Previous Page
To Previous Page IconTo Previous Page
Loading...
User's Manual
45
CHAPTER 5
Tuner Operation
The Tuner is se lect ed either by
rotating the manual input selector on
the front panel, or by touching the
TUNER button in the re mote’s TGIII
mode. The front panel display shows
the frequency of the last station you
were lis ten ing to.
The FM Tuner can tune sta tions
from 87.5 MHz to 108.0 MHz in 0.2
MHz steps (.05 MHz steps for some
in ter na tion al mod els). The AM Tuner
range is 530 kHz to 1710 kHz in 10
kHz steps (531 kHz to 1710 kHz in
9 kHz steps for some in ter na tion al
models).
Tuner and the OSD
Page 35 shows how to set up the
Tuner using the on screen display.
Tuning Stations Manually
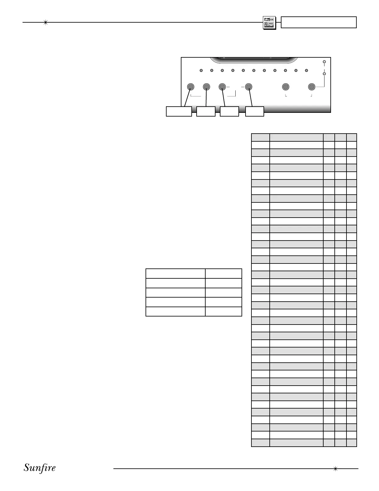
Use the front panel AM/FM button
to select either the AM or FM band,
and then use one of these three ways
to tune stations manually:
1. Touch UP or DOWN mo men -
tari ly to change the tuner by
one frequency step.
2. Hold UP or DOWN for a sec-
ond or so, then release to start
the scanning feature. The TGIII
will scan to the next station,
pause on it for a few seconds
to allow you to hear what is
offered there, and then scan to
the next, and so on. Press ing
UP or DOWN stops the scan-
ning process.
3. Hold UP or DOWN for an
extended period to make the
tuner speed across the band
without stopping on a station.
The tuner will begin scanning
for stations when you release
the button. Press ing UP or
DOWN stops the scanning.
4. When a station is tuned, it can
be set as a preset for easy re-
call, see "Setting the Presets"
in the next column.
Tuning Stations Directly
Use the AM/FM button to select
either the AM or FM band and then
press the DIRECT button. Within a few
seconds, enter the sta tion’s frequency
by using the preset number buttons.
For ex am ple, to tune to radio station
97.3, press DI RECT, then 9, then 7
and then 3.
Setting the Presets
Once you have tuned in a sta-
tion, press and hold a preset button
until the display fl ashes to show the
memory has been set. Use the +10
button to add presets higher than 9,
and hold the last button pressed for a
few seconds.
Press Result
5 Preset 5
+10, 0 Pre set 10
+10,+10, 7 Preset 27
+10,+10, +10, 3 Preset 33
Recalling a Preset Station
Once you have selected the Tuner,
you can quickly recall a station by
press ing its preset number, either on
the front panel or by using the re-
mote’s numeric keypad, FAV buttons,
or the channel up and down buttons.
Scanning Presets
To scan through the presets, press
and hold the FM/AM button. Touch it
again to stop the scan.
Sunfire
1
2
3
4
5
6
7
8
90
+10
UP
DIRECT
AM/FM
MANUAL
TUNING
DOWN
SELECT
UP
DOWN
BASS
TREBLE
TUNER CONTROLS
TONE CONTROLS
AM/FM Direct Down Up
Preset Station AM FM NR
1
2
3
4
5
6
7
8
9
10
11
12
13
14
15
16
17
18
19
20
21
22
23
24
25
26
27
28
29
30
31
32
33
34
35
36
37
38
39
40
Record your favorite stations here:

Related product manuals