EasyManua.ls Logo

Superior WRT3042WS - Page 9

Superior WRT3042WS
20 pages
Print Icon
To Next Page IconTo Next Page
To Next Page IconTo Next Page
To Previous Page IconTo Previous Page
To Previous Page IconTo Previous Page
Loading...
Superiorfireplaces.US.com
126622-01D
9
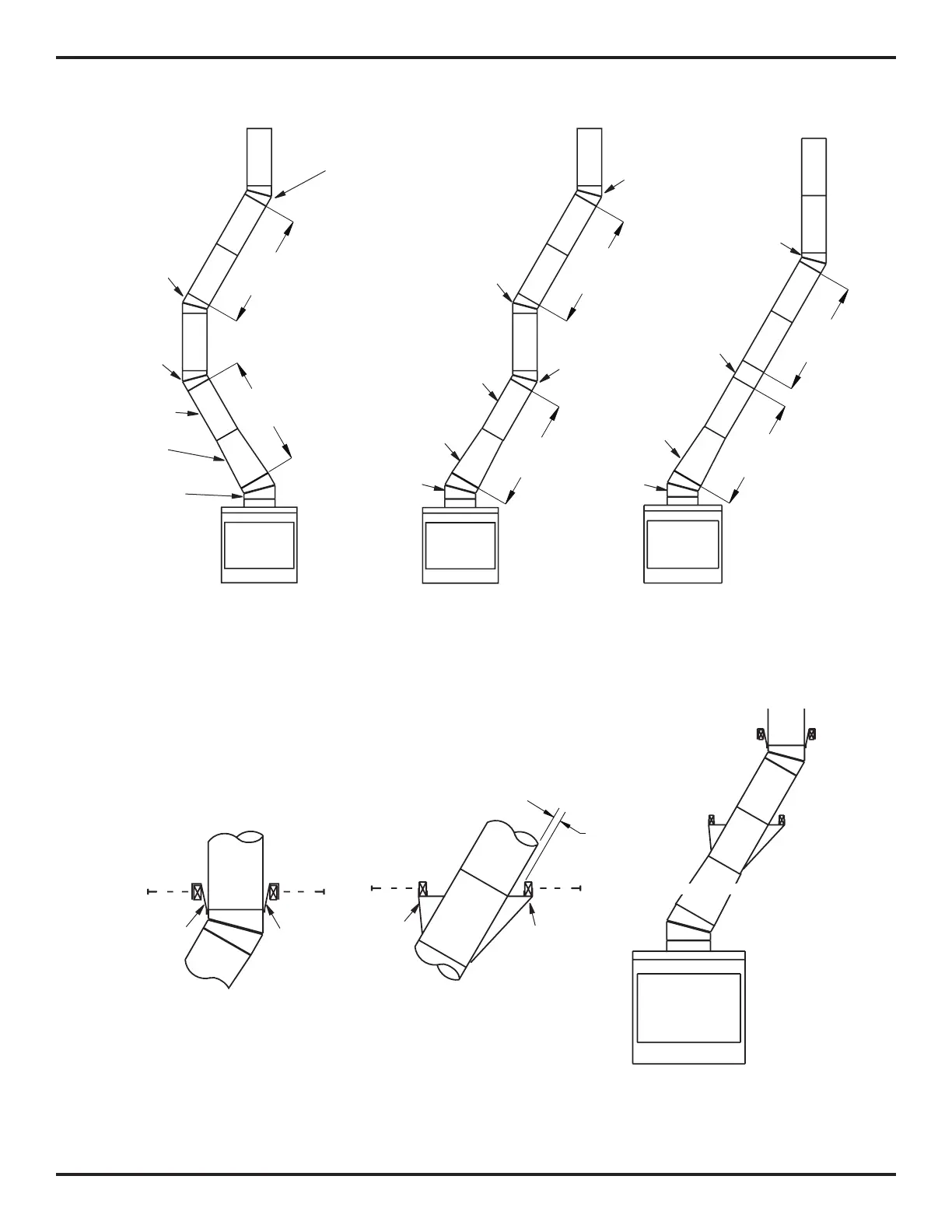
Figure 10 - Typical Offset Installation
Figure 11 - Ceiling Support Pipe 12S-8DM
2" Min.
Straps
Straps
Straps
Straps
Detail A
Return Elbow
Detail B
Angle
Firestop
See Detail A
See Detail B
Ceiling Support
Pipe 12S-8DM
VENTING INSTALLATION Continued
30E-8DM
Return Elbow
30E-8DM
Return Elbow
30E-8DM
Offset Elbow
30E-8DM
Offset Elbow
30E-12DMO-8DMR
Offset Elbow
30E-12DMO-8DMR
Offset Elbow
30E-12DMO-8DMR
Offset Elbow
30E-12DMO-8DMR
Return Elbow
30E-12DMO-8DMR
Return Elbow
30E-12DMO-8DMR
Return Elbow
Starter
Section
Starter
Section
Starter
Section
6' Max.
8 DM Pipe
8 DM Pipe
6' Max.
6' Max.
6' Max.
6' Max.
6' Max.
Ceiling
Support Pipe
12S-8DM
A B C

Related product manuals