EasyManua.ls Logo

Sven HT-435D - Page 13

Sven HT-435D
28 pages
Print Icon
To Next Page IconTo Next Page
To Next Page IconTo Next Page
To Previous Page IconTo Previous Page
To Previous Page IconTo Previous Page
Loading...
HT-435D
ƾǙǤǹǖǡǜǪǦǖǢǛǙǞǥǣǟǧǔǦǔǪǹǺ
UKR
13
ǁǕǠƼǕǙǢǴǤǕǢǚǠDZ
) 92/92/ ǞǡǢǣǞǜ ǛǠǙǡǬǙǡǡdzǛǕǹǟǰǬǙǡǡdz Ǥǹǖǡdz ǗǧǫǡǢǥǦǹ
ǥǜǥǦǙǠǜ
*ǞǡǢǣǞǔǣǙǤǙǠǜǞǔǡǡdzǤǙǚǜǠǧǖǹǘǦǖǢǤǙǡǡdzǛǖǧǞǧ
+,13876(/(&7ǞǡǢǣǞǔǖǜǕǢǤǧǖǩǢǘǹǖǥǜǥǦǙǠǜ
ƻƴƸǁǓǃƴǁƹƿǐ
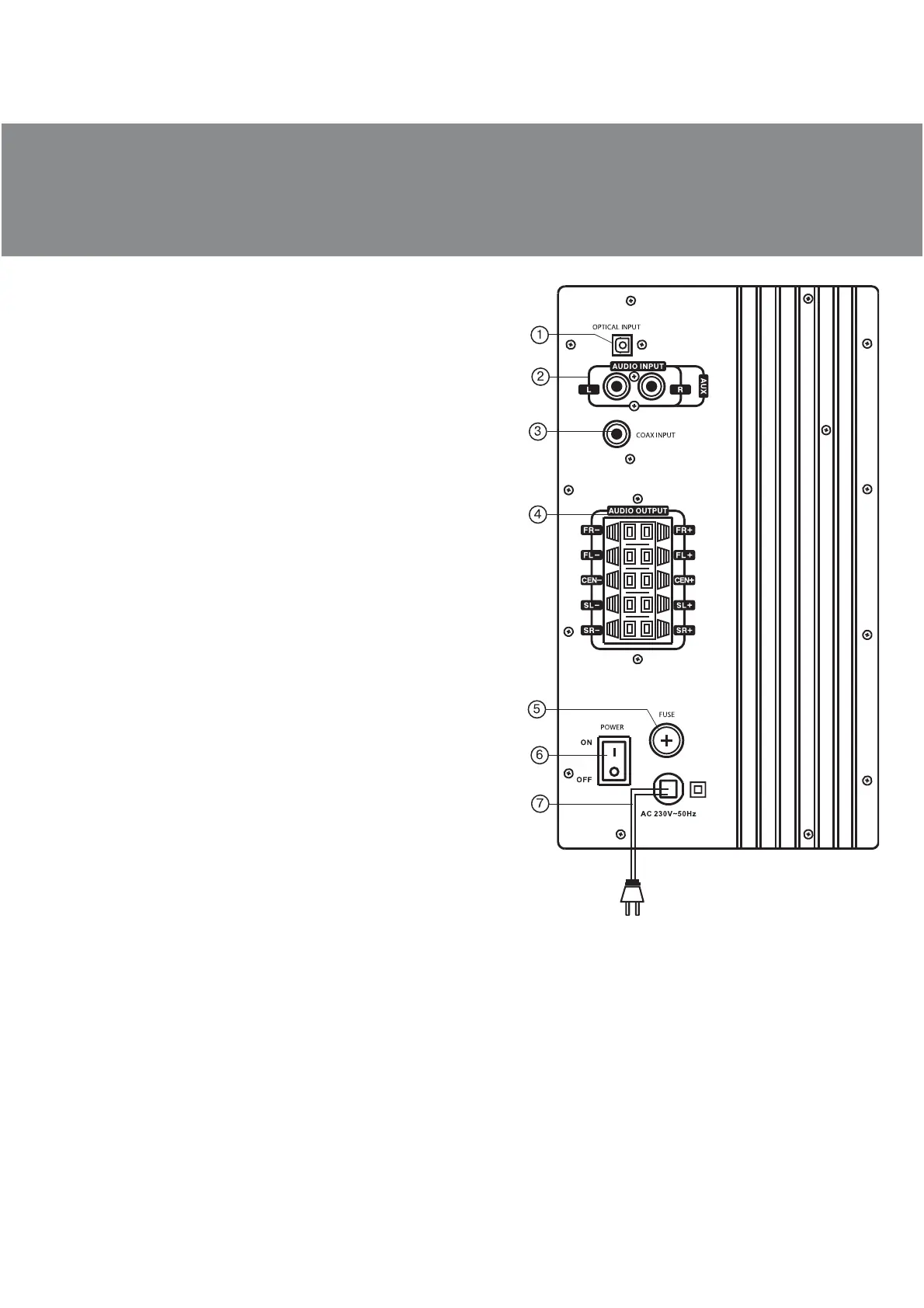
"237,&$/,1387ǢǣǦǜǫǡǜǝǖǩǹǘ
#$8',2,1387ǥǦǙǤǙǢǖǩǹǘ$8;ǟǹǖǜǝǣǤǔǖǜǝǘǟdz
ǣǹǘǞǟDzǫǙǡǡdzǃƾ&'03ǥǦǙǤǙǢǣǤǢǗǤǔǖǔǫǹǖǠǔǗǡǹǦǢǨǢǡǹǖ
ǦǢǭǢ
$&2$;,1387ǞǢǔǞǥǹǔǟǰǡǜǝǖǩǹǘ
%$8',2287387ǖǜǩǹǘǡǹǤǢǛϼǷǠǜǘǟdzǣǹǘǞǟDzǫǙǡǡdzǞǢǟǢǡǢǞ
Ϝ)5)5ǖǜǩǹǘǣǤǔǖǢǗǢǨǤǢǡǦǔǟǰǡǢǗǢǞǔǡǔǟǧ
Ϝ)/)/ǖǜǩǹǘǟǹǖǢǗǢǨǤǢǡǦǔǟǰǡǢǗǢǞǔǡǔǟǧ
Ϝ&(1&(1ǖǜǩǹǘǪǙǡǦǤǔǟǰǡǢǗǢǞǔǡǔǟǧ
Ϝ6565ǖǜǩǹǘǣǤǔǖǢǗǢǦǜǟǢǖǢǗǢǞǔǡǔǟǧ
Ϝ6/6/ǖǜǩǹǘǟǹǖǢǗǢǦǜǟǢǖǢǗǢǞǔǡǔǟǧ
&)86(ǠǙǤǙǚǙǖǜǝǛǔǣǢǕǹǚǡǜǞ
'32:(5ǖǜǠǜǞǔǫǚǜǖǟǙǡǡdz
(njǡǧǤǚǜǖǟǙǡǡdz

Other manuals for Sven HT-435D

Related product manuals