EasyManua.ls Logo

Sylvox Elf S2 - Bluetooth Operation; USB Operation

Sylvox Elf S2
17 pages
Print Icon
To Next Page IconTo Next Page
To Next Page IconTo Next Page
To Previous Page IconTo Previous Page
To Previous Page IconTo Previous Page
Loading...
10
9. Bluetooth Operation
Pairing the Soundbar with a Bluetooth device to
listen to music:
First time pairing
1. Press the button on the remote control
to select Bluetooth mode. The Blue indicator
will ash slowly.
2. Activate your Bluetooth device and select the
search mode.
3. Select “Sylvox Elf S2 enter “0000” for the
password if necessary. After audio prompt,
the system is successfully connected and the
Blue indicator will light up solidly.
Pairing a new device after rst time pairing:
1. In Bluetooth mode, press and hold the
/Pair button to disconnect from current
Bluetooth connected devices and enter the
Bluetooth pairing mode. You will hear audio
prompt and Blue indicator will ash rapidly.
2. Follow step 2-3 in First time pairing above
to pair your Bluetooth device.
To disconnect the Bluetooth Operation:
Switch to another function on the Soundbar.
Disable the function from your Bluetooth
device.
Press and hold the
/Pair button to
disconnect from current Bluetooth
connected devices and enter the Bluetooth
pairing mode. You will hear audio prompt
and Blue indicator will ash rapidly.
Listen to Music from Bluetooth device
If your Bluetooth device supports A2DP,
play music via your device.
If your Bluetooth device supports AVRCP,
use the supplied remote control to control play.
To increase/decrease the volume,
press (volume)
+
/
button.
To pause/resume playback, press
/Pair
button.
To skip to a track, press
/ button.
In an open space without obstructions. The
maximum operational range between the soundbar
and a Bluetooth device is approximately 8 meters.
Before connecting a Bluetooth device to the unit,
ensure you know the devices capabilities.
Compatibility with all Bluetooth devices is not
guaranteed.
Any obstacle between the device and the
Soundbar can reduce operational range.
Keep this player away from other electronic
devices that may cause interference.
The player will also be disconnected when your
device is moved beyond the operational range.
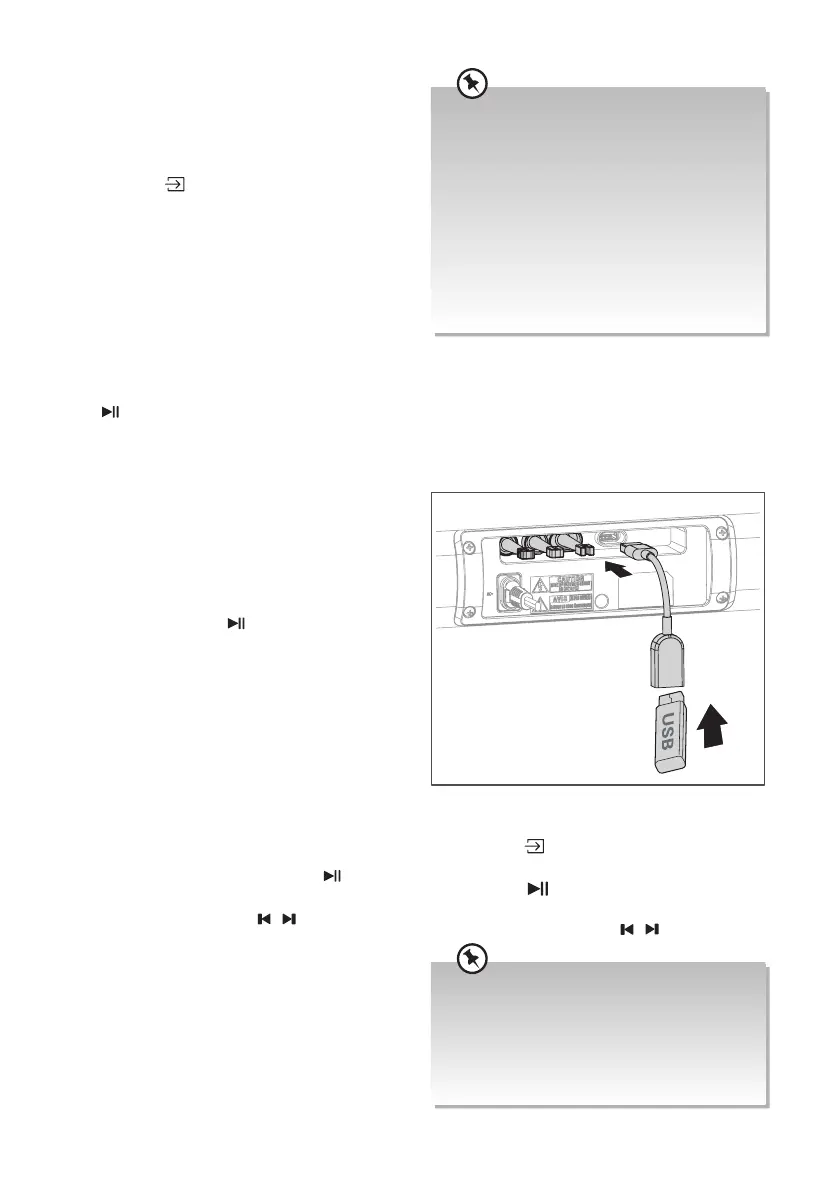
10. USB Operation
By connecting a USB mass storage device (e.g. USB
ash drive) to this unit, you can enjoy the device’s
stored music through the unit.
Ensure that insert USB transfer cable and
then insert the USB device.
1. Press the
button on the remote control to
select USB mode.
2. Press the
button to pause/resume
playback.
3. To skip to a track, press
/ button.
The player supports the USB music le format of
MP3 only.
The Soundbar can support USB devices with up
to 32 GB of memory.
The Soundbar may not be compatible with all
USB devices, this is not an indication of a problem
with the unit.