EasyManua.ls Logo

SystemAir EC Series - KV DUO EC Wiring

SystemAir EC Series
108 pages
To Next Page IconTo Next Page
To Next Page IconTo Next Page
To Previous Page IconTo Previous Page
To Previous Page IconTo Previous Page
Loading...
88 |
206268 | A024
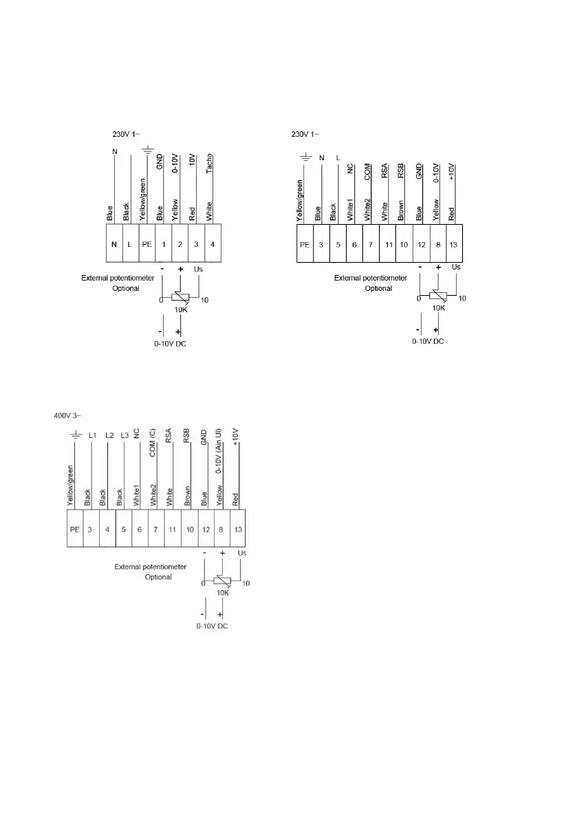
KV DUO EC
For KV DUO 150-315 EC For KV DUO 400 EC
For KV DUO 500-560 EC

Related product manuals