EasyManua.ls Logo

Tandy 1000 HX - Page 41

Tandy 1000 HX
426 pages
Print Icon
To Next Page IconTo Next Page
To Next Page IconTo Next Page
To Previous Page IconTo Previous Page
To Previous Page IconTo Previous Page
Loading...
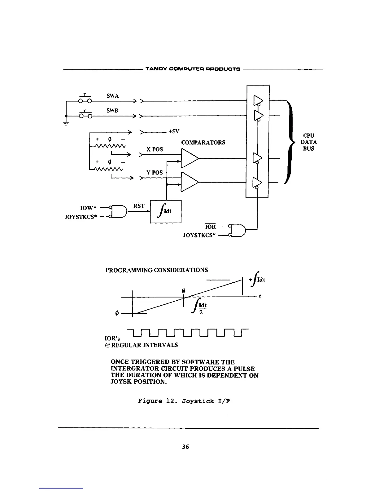
TANDY COMPUTER PRODUCTS
PROGRAMMING CONSIDERATIONS
IOR's
@
REGULAR INTERVALS
ONCE TRIGGERED BY SOFTWARE THE
INTERGRATOR CIRCUIT PRODUCES A PULSE
THE DURATION OF WHICH IS DEPENDENT ON
JOYSK POSITION.
Figure 12. Joystick
I/F
36

Related product manuals