EasyManua.ls Logo

Taxitronic TX52 - Page 15

Taxitronic TX52
16 pages
Print Icon
To Next Page IconTo Next Page
To Next Page IconTo Next Page
To Previous Page IconTo Previous Page
To Previous Page IconTo Previous Page
Loading...
INTERFACOM, S.A.
Inst TX52_TX40_007_en.doc 15
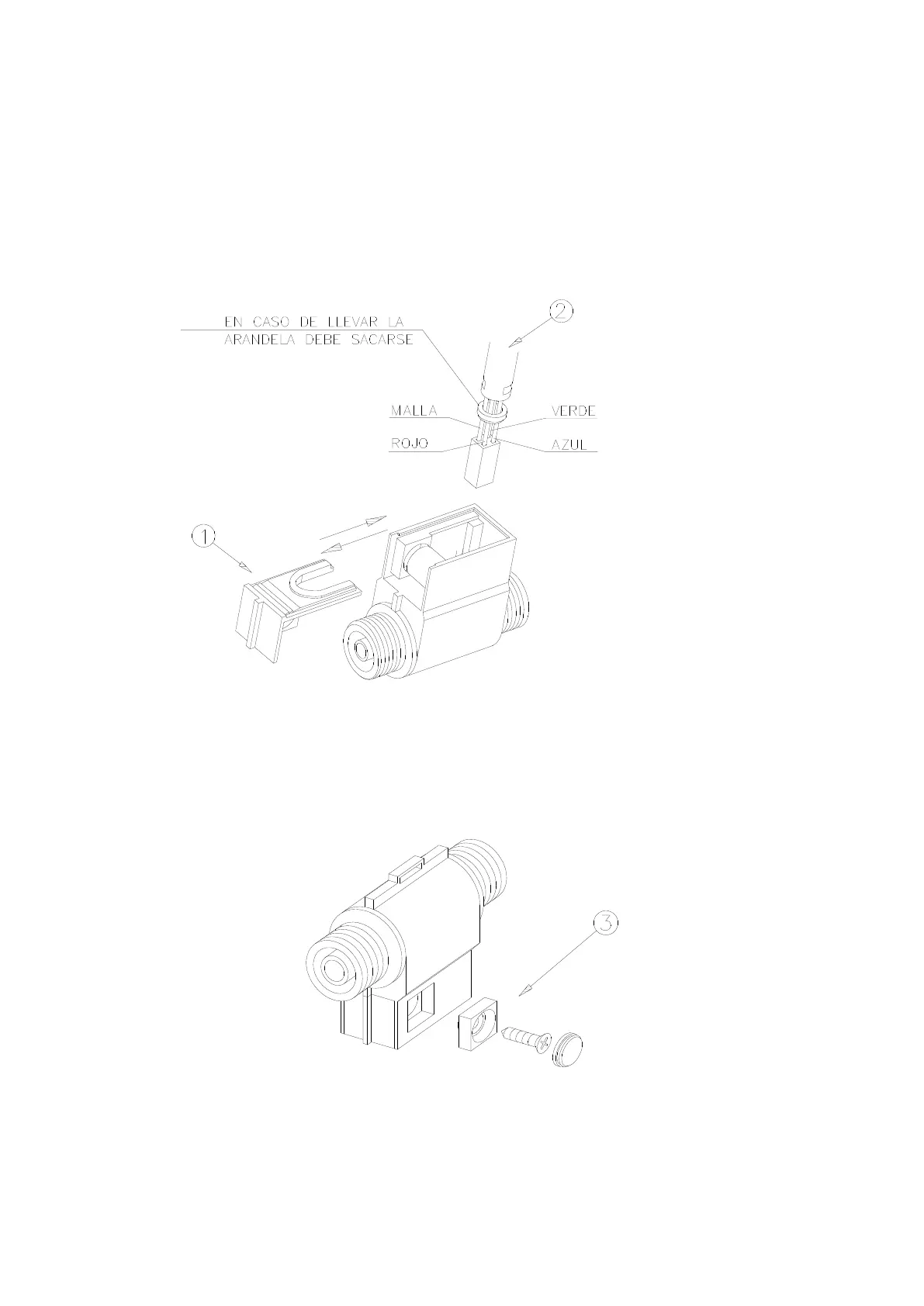
5.2.2. CABLE CONNECTION, COVER CLOSING AND PULSE GENERATOR
SUPPORT (Drawing 10)
To connect the pulse generator cable it is necessary to open the pulse generator
cover (item 1) after taking the closing screw out and moving the cover in the right
direction indicated by the arrow. Connect the cable as indicated onitem 2 taking into
account the polarity of the connector.
Finally put the pulse generator cover back, fix it or seal it, if it is necessary ( item 3)
and place the pulse generator in the corresponding holder.

Related product manuals