EasyManua.ls Logo

TCS HE220A - HOW YOUR HUMIDIFIER WORKS; Evaporation Principle; Energy Savings; MAINTAINING YOUR HUMIDIFIER

TCS HE220A
8 pages
Print Icon
To Next Page IconTo Next Page
To Next Page IconTo Next Page
To Previous Page IconTo Previous Page
To Previous Page IconTo Previous Page
Loading...
HE220A AND HE260A BYPASS FLOW-THROUGH HUMIDIFIER
3 68-0272
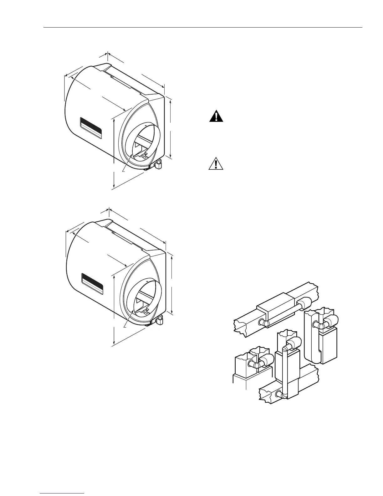
Fig. 1. Dimensions of HE220A in in. (mm).
Fig. 2. Dimensions of HE260A in in. (mm).
Approvals:
Underwriters Laboratories Inc. Listing: 56 BL.
Canadian Underwriters Laboratories Inc. Listing: 56 BL.
Standard:
Air Conditioning and Refrigeration Institute Tested:
Standard 610.
Models:
HE220A Total Comfort System and HE260A Total
Comfort System Bypass Flow-through Humidifier pack-
age includes humidifier pad, mounting template, self-
piercing saddle valve, 24 Vac transformer, H908A Con-
vertible Humidity Control.
Accessories:
Current Sensor Relay, part no. 32001754-001.
C7089H Outdoor Temperature Sensor.
H8908B Convertible Humidity Control.
HC22A Humidifier Pad (HE220A only).
HE26A Humidifier Pad (HE 260A only).
INSTALLATION
WARNING
Hazardous Voltage.
Can cause personal injury or equipment damage.
Do not cut or drill into any air conditioning line or
electrical accessory.
CAUTION
Freezing Water, Flooding or
Static Pressure Hazard.
Can cause water damage to home or permanent
equipment damage.
The humidifier must be located where the ambient
temperature is above 32°F and below 160°F (0°C
and 71°C).
Be sure supply plenum static pressure is no greater
than 0.3 in. wc and water pressure is no greater
than 125 psi.
IMPORTANT
To assure optimal product performance, be sure the
template is level before marking location.
1. Determine the best location for the humidifier and draw
a level line on the plenum. See Fig. 3.
Fig. 3. Typical humidifier installation locations.
IMPORTANT
Mount the humidifier at least 3 in. (76 mm) above the
furnace jacket to allow adequate space for the sole-
noid valve and drain line. Check that there is ade-
quate space above the humidifier to remove and
install the humidifier cover.
M20819
9-1/8 (232)
11-7/16 (290)
12-7/1
6
(316
)
6 (152)
DIAMETER
12 (305)
13-9/16
(345)
M20820
9-1/4 (235)
12 (305)
15-5/1
6
(390
)
13-9/16 (345)
16-3/4
(425)
6 (152)
DIAMETER
M12248C
HORIZONTAL
DOWN
FLO
LOWBOY
HIGHBOY

Other manuals for TCS HE220A