EasyManua.ls Logo

TCS HE220A - HUMIDIFIER CLEANING AND SAFETY; Cleaning Procedure; Safety Warnings

TCS HE220A
8 pages
Print Icon
To Next Page IconTo Next Page
To Next Page IconTo Next Page
To Previous Page IconTo Previous Page
To Previous Page IconTo Previous Page
Loading...
HE220A AND HE260A BYPASS FLOW-THROUGH HUMIDIFIER
68-0272 4
2. Tape the template in position and trace around the tem-
plate.
3. Remove the template and carefully cut the rectangular
opening.
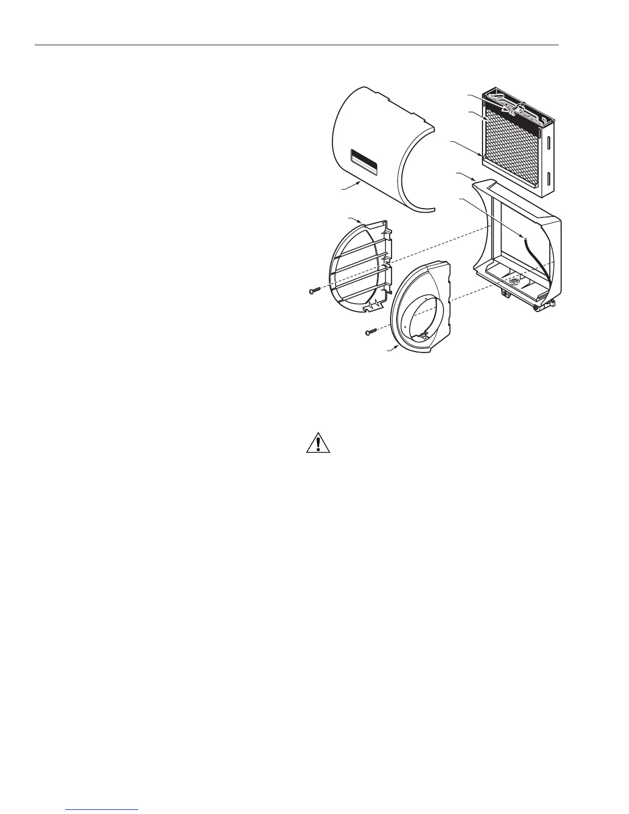
4. Disassemble the humidifier; remove the cover and take
out the humidifier pad assembly. See Fig. 4.
NOTE: Sidewalls are interchangeable for either left or right
by-pass installation. To change direction, remove the
screws holding each sidewall, switch sidewall loca-
tions and reinstall the screws.
5. Position the humidifier housing in the opening (be sure it
is level), so the locking tabs are in place on the lower
sheet metal edge of the opening.
6. Secure the humidifier housing to the opening at the top
and bottom using sheet metal screws.
7. Locate the other plenum and cut an opening for a 6 in.
(152 mm) collar.
8. Install the 6 in. (152 mm) collar.
NOTE: Be sure to install a duct damper for summer shutoff
on systems with air conditioning.
9. Install a 6 in. (152 mm) diameter duct from the collar to
the humidifier.
NOTE: Some installations require a 90° elbow attachment to
the collar.
10. Seal the duct connections with duct tape.
NOTE: To avoid sagging and stress on the humidifier, add
support when ducting is longer than 4 ft (120 cm).
11. Reinstall the humidifier pad assembly in the humidifier
housing.
NOTE: Be sure the water feed tube is not pinched or kinked.
12. Hinge the cover in place and secure with the thumb-
screw located at the bottom of the cover.
Fig. 4. Humidifier components.
WIRING THE HUMIDIFIER
CAUTION
Hazardous Voltage.
Can cause personal injury or equipment damage.
Disconnect the power supply before installing or
servicing.
On multispeed blower applications, do not wire the
high voltage side of the transformer to the same
power source that services the furnace blower.
Premature transformer burnout may occur.
All wiring must comply with applicable local codes, ordinances
and regulations.
1. Mount the transformer in a convenient location.
2. Connect wires to the 120V side of the transformer.
3. Wire the humidifier solenoid valve, current sensing
relay, or sail switch, humidity control and transformer.
Refer to the humidity control installation instructions for
mounting and wiring information.
NOTE: Select models of fan centers include humidifier taps
so the current sensing relay or sail switch is not
needed.
M20821
WATER
FEED NOZZLE
FRAME
HUMIDIFIER
HOUSING
WATER
FEED TUBE
HUMIDIFIER
PAD ASSEMBLY
COVER
SIDEWALL
BY-PASS SIDEWALL

Other manuals for TCS HE220A