EasyManua.ls Logo

Teac SL-D80 - Timer Operation; Setting the Timer for Playback; Timed Playback of Programmed Tracks

Teac SL-D80
20 pages
Print Icon
To Next Page IconTo Next Page
To Next Page IconTo Next Page
To Previous Page IconTo Previous Page
To Previous Page IconTo Previous Page
Loading...
17
ENGLISH FRANÇAIS
1
23
1 4
4
3
2
Timer Minuterie
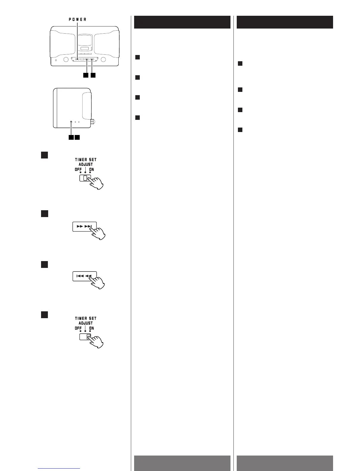
Adjust the clock before setting the timer.
Slide the TIMER SET switch to ADJUST.
The display starts flashing.
Press the
,
/ button to set the
start time (hour).
Press the .
m
button to set the
start time (minute).
Slide the TIMER SET switch to ON, and
turn the unit off.
The TIMER indicator lights.
The unit will turn on at the specified time
every day.
For the timer to start playback of CD,
press the CD button to select CD, set a
disc and adjust the volume before turning
the unit off.
For the timer to start the radio, tune in a
station and adjust the volume before
turning the unit off.
Never forget to turn the unit off, or the
timer won't work.
When the unit is off, the light of the
frequency display is also off.
<
The stop time cannot be set. When the
timer playback has been finished, press
the POWER switch to turn the unit off.
<
When you aren't using timer, set the
TIMER SET switch to OFF position.
<
If the TIMER SET switch is slid to OFF
during timer playback, the unit will be
turned off.
<
If the unit is disconnected from the power
supply for more than 3 minutes, the clock
and timer setting will be reset.
4
3
2
1
Timer playback of the
programmed tracks
1. Set the start time and slide the TIMER
switch to ON.
2. Program the tracks. (see page 12)
3. With the PROGRAM indicator lit, press
the POWER switch to turn the unit off.
(If the PROGRAM indicator is off, press
the PROGRAM/SHUFFLE button to turn
the program mode on.)
The unit will turn on and start
programmed playback at the specified
time.
Régler lhorloge avant de régler la
minuterie
Glisser le commutateur TIMER SET à la
position ADJUST
Lafficheur clignote
Appuyer sur la touche
,
/ pour
régler le temps du démarrage (heure)
Appuyer sur la touche .
m
pour
régler le temps du démarrage (minute)
Glisser le commutaeur TIMER SET à la
position ON et éteindre lappareil
Lindicateur TIMER sallume
Lappareil sallumera à lheure spécifiée
chaque jour
Pour une lecture minutée dun CD,
appuyer sur la touche CD pour choisir
CD, insérer un disque et régler le volume
avant d’éteindre lappareil.
Ne jamais oublier d’éteindre lappareil,
sinon la minuterie ne fonctionnera pas.
Quand lappareil est éteint, lafficheur de
fréquence est aussi éteint.
<
Lheure darrêt ne peut pas être régler.
Quand la lecture minutée est terminée,
appuyer sur la touche POWER pour
éteindre lappareil
<
Si la minuterie nest pas utilisée, placer le
commutateur TIMER SET en position OFF
<
Si le commutateur TIMER SET est placé
en position OFF durant la lecture minutée,
lappareil va s’éteindre.
<
Si lappareil est débranché pour plus de 3
minutes, lhorloge et la minuterie devront
être régler de nouveau.
4
3
2
1
Lecture minutée des pistes
programmées
1. Régler lheure dallumage et glisser le
commutateur TIMER en position ON.
2. Programmer les pistes (voir page 12)
3. Quand lindicateur PROGRAM est allumé,
appuyer sur le commutateur POWER pour
éteindre lappareil. (Si lindicateur
PROGRAM est éteint, appuyer sur la
touche PROGRAM/SHUFFLE pour
engendrer le mode de programmation
Lappareil va sallumer et commencera la
lecture programmée à lheure spécifiée.
家电维修技术论坛 http://www.bjjdwx.com/forum.php
79网络 http://www.79wl.com

Related product manuals