EasyManua.ls Logo

Teagle Tomahawk 8500 - Page 22

Teagle Tomahawk 8500
44 pages
Print Icon
To Next Page IconTo Next Page
To Next Page IconTo Next Page
To Previous Page IconTo Previous Page
To Previous Page IconTo Previous Page
Loading...
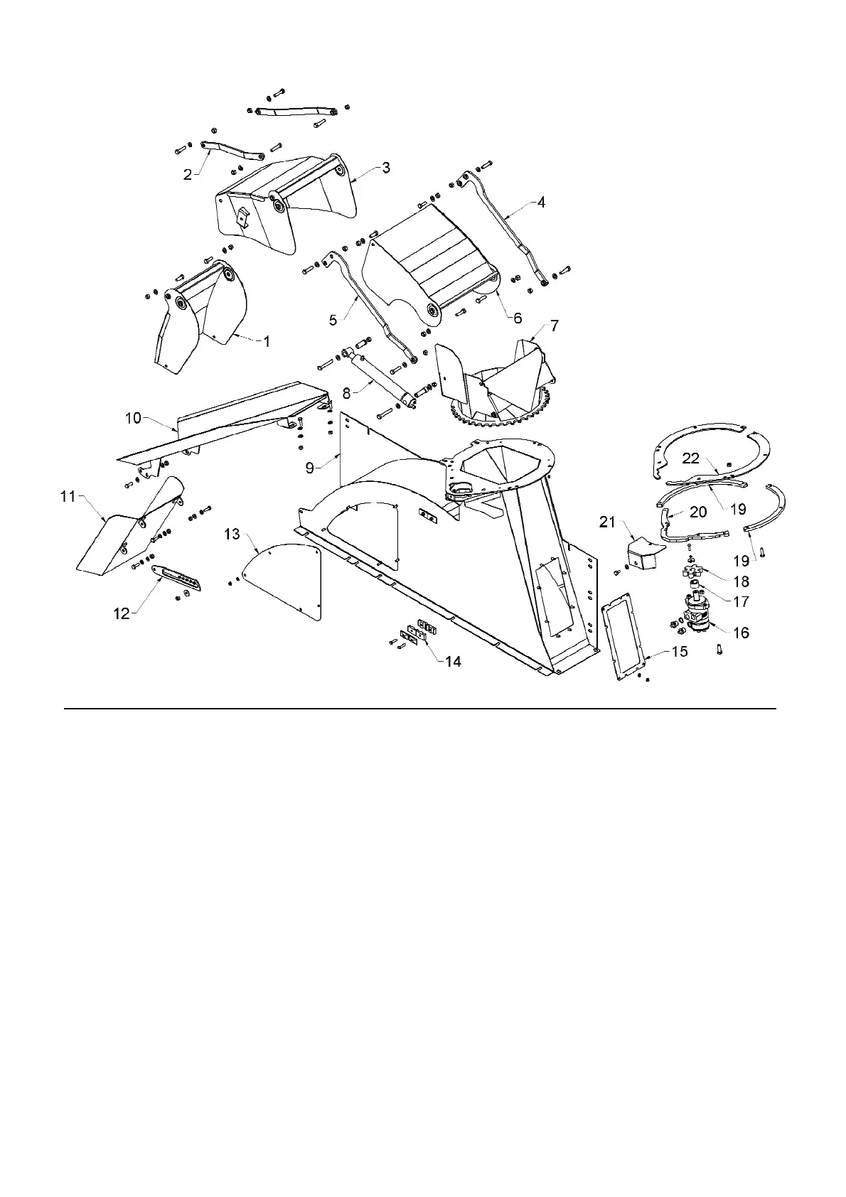
Ref. Description Part No. Qty. Associated Components Part No. Qty.
Kit Complete SC4685 1
(Comprising Items 1 - 9 & 13 - 22)
Hinged Feed Slide Kit SC4688 1
(Comprising Items 10 - 12)
1 End Deflector SC4044 1 Setscrew M12 x 35 FAS2679P 2
Plain Washer M12 FAS2345P 2
Locknut M12 FAS2334 2
2 Top Link SC4047 2 Bolt M12 x 50 FAS9682P 2
Bolt M12 x 55 FAS9683P 2
Plain Washer M12 FAS2345P 4
Locknut M12 FAS2334 4
3 Mid Deflector SC4043 1
4 Lower Link LH SC4046 1 Bolt M12 x 50 FAS9682P 2
Plain Washer M12 FAS2345P 2
Locknut M12 FAS2334 2
5 Lower Link RH SC4045 1 Bolt M12 x 50 FAS9682P 2
Plain Washer M12 FAS2345P 2
Locknut M12 FAS2334 2
6 Lower Deflector SC4042 1 Setscrew M12 x 35 FAS2679P 2
Bolt M12 x 45 FAS9681P 2
Plain Washer M12 FAS2345P 4
Locknut M12 FAS2334 4
18
SLOPING FLANGE GIRAFFE CHUTE & HOUSING

Other manuals for Teagle Tomahawk 8500

Related product manuals