EasyManua.ls Logo

Tekno Point ELSKOV-12 - Page 35

Tekno Point ELSKOV-12
Print Icon
To Next Page IconTo Next Page
To Next Page IconTo Next Page
To Previous Page IconTo Previous Page
To Previous Page IconTo Previous Page
Loading...
USE AND INSTALLATION MANUAL ELFO
32
4.20 PERFORMANCE OF EMPTY
4.21 ADDITIONAL CHARGE OF REFRIGERANT
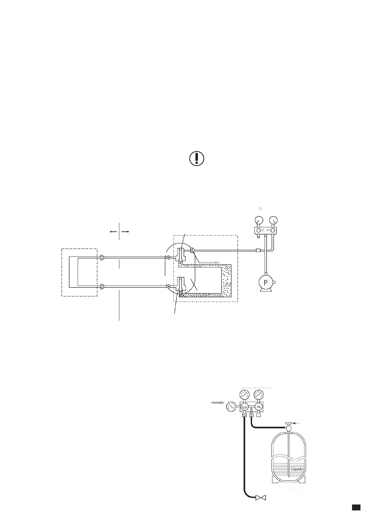
Use a pump to run the vacuum, it is strictly forbidden to
drain the coolant.
Vacuum Pump selection: Choose a pump that achieves a
degree of vacuum (less than -
755mmHg) and that has high air discharge capacity (greater
than 40 liters / min).
After completing the tightness test and downloaded
nitrogen, connect the instrument to the diverter
of the gas exhaust valve (3-way), then connect the vacuum
pump as shown in FIG.
Run the vacuum for 1-2 hours depending on the length of
the pipes. Before the operation, make sure the liquid and
gas valves are fully closed.
If after 2 hours the pressure does not reach values lower
than -755 mmHg, continue to run the vacuum for another
If the total length (L) of the connecting pipes between the
units is less than m, it is not necessary to make an additional
refrigerant charge.
• If the connecting pipes have a length (L) greater than, one
must make an additional charge per meter (M).
Charge the additional refrigerant (calculated according to
the distance between indoor and outdoor units) using the
large tube service valve.
Use a scale to measure the refrigerant accurately.
Add coolant only in cooling mode.
Be careful not to let air enter the system, and charge
refrigerant only in liquid form.
hour. If after 3 total hours the pressure is not yet dropped
below -755 mmHg, you have to find the leak and repair it.
If after 2 hours the pressure falls below -755 mmHg, close
both valves VL and VH of the diverter, then close the pump
and observe if after 1 hour the vacuum level undergoes
changes. Sevaria, it means that there is a leak in the
system, so you have to find the leak.
• After running the vacuum, replace the vacuum pump with
the refrigerant container and the refrigerant charging (if
necessary)
Run the procedutra described above for
each individual circuit is present when
the service connection.
• If you run an additional refrigerant charge, indicate the
length of the refrigerant piping and the amount of additional
refrigerant charge on the product label.
pag. 45
ESECUZIONE DEL VUOTO
Usare una pompa per eseguire il vuoto, è severamente vietato spurgare il refrigerante.
Scelta della pompa per il vuoto: scegliere una pompa che raggiunga un alto valore di vuoto (inferiore a -
755mmHg) e che abbia un'alta capacidi scarico dell'aria (superiore a 40 litri/min).
Dopo aver completato la prova di tenuta stagna e aver scaricato l'azoto, collegare lo strumento deviatore alla
valvola di scarico del gas (3 vie), quindi collegare la pompa per il vuoto come mostrato in figura.
Eseguire il vuoto per 1-2 ore a seconda della lunghezza delle tubazioni. Prima dell'operazione, accertarsi che le
valvole del liquido e del gas siano completamente chiuse.
Se dopo 2 ore la pressione non raggiunge valori inferiori a -755 mmHg, continuare a eseguire il vuoto per
un'altra ora. Se dopo 3 ore totali la pressione non è ancora scesa sotto i -755 mmHg, bisogna individuare la
perdita e ripararla.
Se dopo 2 ore la pressione scende al di sotto dei -755 mmHg, chiudere entrambe le valvole VL e VH del
deviatore, quindi chiudere la pompa e osservare se dopo 1 ora il livello di vuoto subisce delle variazioni. Se
varia, vuol dire che nel sistema c'è una perdita, e quindi bisogna individuare la perdita.
Dopo aver completato l'esecuzione del vuoto, sostituire la pompa per il vuoto con il contenitore del refrigerante e
procedere al caricamento del refrigerante (se necessario)
Esegui la procedutra sopradescritta per ogni singolo circuito ove è presente il raccordo di servizio.
CARICA AD
DIZIONALE DI REFRIGERANTE
Se la lunghezza totale (L) delle tubazioni di collegamento fra le
unità è inferiore a m (vedi tabella pag. 13), non è necessario
effettuare una carica aggiuntiva di refrigerante.
Se le tubazioni di collegamento hanno una lunghezza (L)
superiore, bisogna effettuare una carica aggiuntiva per metro (M)
(vedi tabella pag. 13).
Caricare il refrigerante aggiuntivo (calcolato in base alla distanza
tra unità interna ed esterna) usando la valvola di servizio del tubo
grande.
Usare una bilancia per misurare il refrigerante con precisione.
Aggiungere refrigerante solo in modalità Raffreddamento.
Fare attenzione a non lasciar entrare aria nel sistema, e a caricare
il refrigerante solo allo stato liquido.
Se si esegue una carica aggiuntiva di refrigerante, indicare la
lunghezza della tubazione del refrigerante e la quantità della carica
aggiuntiva di refrigerante sulla targhetta del prodotto.
INSTALLATION
outdoor
flange
flange
hatch
external unite
internal unit
indoor
high
pressure
gauge
low
pressure
gauge
tighten
the clamp
tighten
the clamp
valve 2 way closed
(liquid side)
gas exhaust
valve
valve 3 way closed
(gas side)
vacuum
pump
pag. 45
ESECUZIONE DEL VUOTO
Usare una pompa per eseguire il vuoto, è severamente vietato spurgare il refrigerante.
Scelta della pompa per il vuoto: scegliere una pompa che raggiunga un alto valore di vuoto (inferiore a -
755mmHg) e che abbia un'alta capacidi scarico dell'aria (superiore a 40 litri/min).
Dopo aver completato la prova di tenuta stagna e aver scaricato l'azoto, collegare lo strumento deviatore alla
valvola di scarico del gas (3 vie), quindi collegare la pompa per il vuoto come mostrato in figura.
Eseguire il vuoto per 1-2 ore a seconda della lunghezza delle tubazioni. Prima dell'operazione, accertarsi che le
valvole del liquido e del gas siano completamente chiuse.
Se dopo 2 ore la pressione non raggiunge valori inferiori a -755 mmHg, continuare a eseguire il vuoto per
un'altra ora. Se dopo 3 ore totali la pressione non è ancora scesa sotto i -755 mmHg, bisogna individuare la
perdita e ripararla.
Se dopo 2 ore la pressione scende al di sotto dei -755 mmHg, chiudere entrambe le valvole VL e VH del
deviatore, quindi chiudere la pompa e osservare se dopo 1 ora il livello di vuoto subisce delle variazioni. Se
varia, vuol dire che nel sistema c'è una perdita, e quindi bisogna individuare la perdita.
Dopo aver completato l'esecuzione del vuoto, sostituire la pompa per il vuoto con il contenitore del refrigerante e
procedere al caricamento del refrigerante (se necessario)
Esegui la procedutra sopradescritta per ogni singolo circuito ove è presente il raccordo di servizio.
CARICA AD
DIZIONALE DI REFRIGERANTE
Se la lunghezza totale (L) delle tubazioni di collegamento fra le
unità è inferiore a m (vedi tabella pag. 13), non è necessario
effettuare una carica aggiuntiva di refrigerante.
Se le tubazioni di collegamento hanno una lunghezza (L)
superiore, bisogna effettuare una carica aggiuntiva per metro (M)
(vedi tabella pag. 13).
Caricare il refrigerante aggiuntivo (calcolato in base alla distanza
tra unità interna ed esterna) usando la valvola di servizio del tubo
grande.
Usare una bilancia per misurare il refrigerante con precisione.
Aggiungere refrigerante solo in modalità Raffreddamento.
Fare attenzione a non lasciar entrare aria nel sistema, e a caricare
il refrigerante solo allo stato liquido.
Se si esegue una carica aggiuntiva di refrigerante, indicare la
lunghezza della tubazione del refrigerante e la quantità della carica
aggiuntiva di refrigerante sulla targhetta del prodotto.
R32
valve manifold
valve

Related product manuals