EasyManua.ls Logo

Tekno Point ELSKOV-12 - Page 34

Tekno Point ELSKOV-12
Print Icon
To Next Page IconTo Next Page
To Next Page IconTo Next Page
To Previous Page IconTo Previous Page
To Previous Page IconTo Previous Page
Loading...
USE AND INSTALLATION MANUAL ELFO
31
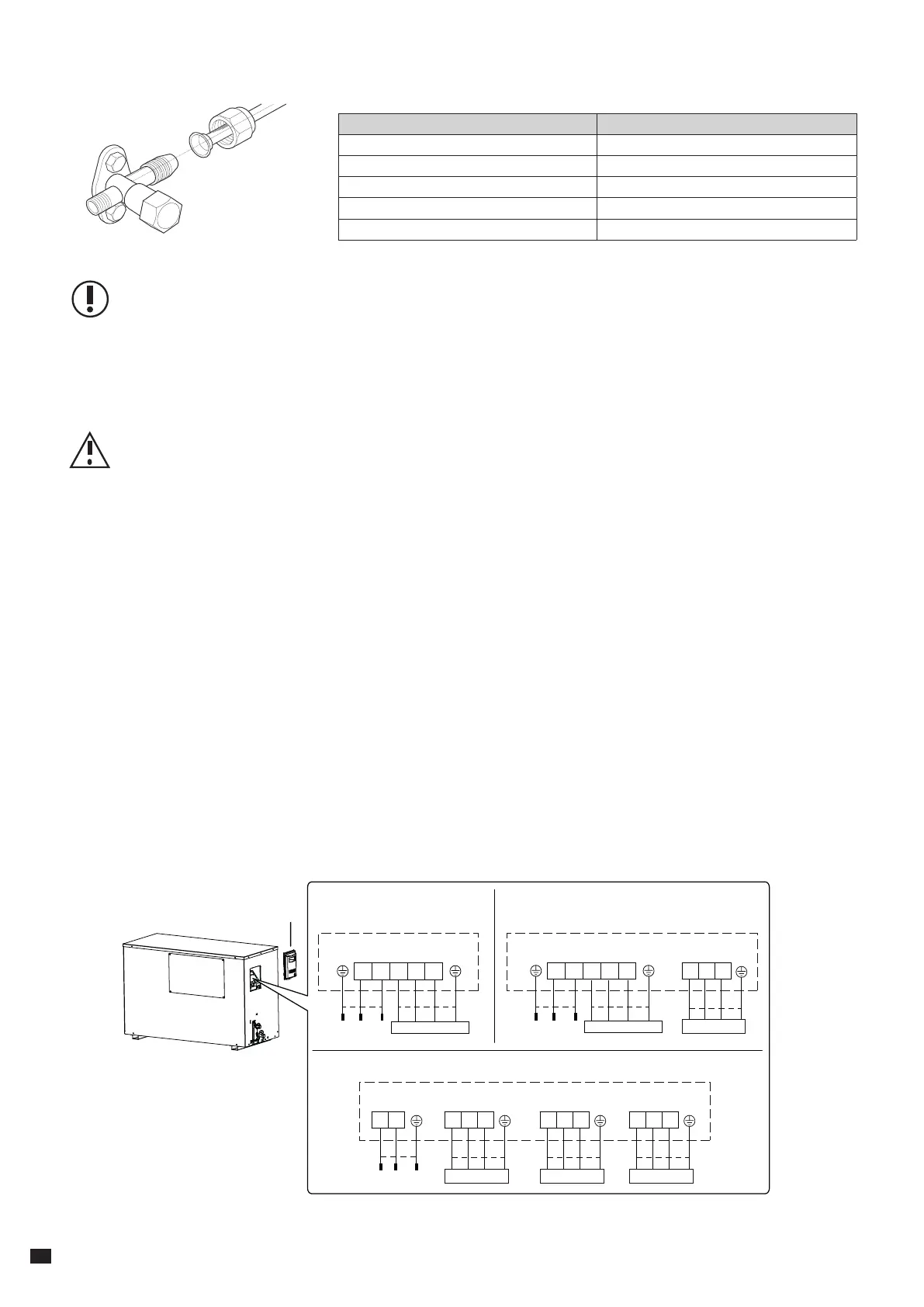
4.19 ELECTRICAL CONNECTIONS
IT MUST MAKE AN EFFECTIVE EARTHING
The manufacturer is not responsible for damage caused in the absence of the same
The electrical connections must be made according to the
following indications:
- Use cables that meet the current standards in different
countries.
- Follow the order of connecting phase, neutral and ground.
- Install a suitable protective device and the electricity
disconnection with delayed characteristic curve, contacts
opening of at least 3 mm and an adequate breaking and
leakage protection.
- If the power of the machine appears to be three-phase, one
must be sure to observe the exact sequence of steps (check
with gauges work properly).
- The supply voltage of the condensing unit must have a value
between ± 10% of the indicated value on the production
data plate. If this is not respected, you have to contact their
electricity supplier. In the presence of three-phase supply, the
unbalance between the three phases, must be at most 3%.
- It is forbidden to enter the electrical wiring in the condensing
unit in any other part than that provided by the manufacturer
(the holes with rubber grommet).
- Pass compulsorily the power supply cable through one of
the holes with rubber grommet located on the left side of
the car. The electrical connections are made on the terminal
block that is located inside of the electrical components
located behind the inspection panel.
- Connect the cable to terminals inside the electrical panel.
- Avoid direct contact with metal parts.
- Ensure, after about 10 minutes of operation of the
condensing unit, the closure of the screws on the power
terminal.
15
union nut
pipe joint
3. Pretightening the union nut with hand. 4. Tighten the union nut with torque wrench
by referring to the sheet below.
Hex nut diameter Tightening torque (N
.
m)
Φ 6 15~20
Φ 9.52 30~40
Φ 12 45~55
Φ 16 60~65
Φ 19 70~75
Step 5: Connect indoor and outdoor pipe
1. Remove the screw on the right handle of outdoor unit and then remove the handle.
2. Remove the wire clip; connect the power connection wire and signal control wire (only for
cooling and heating unit) to the wiring terminal according to the color,x them with screws.
3. Fix the power connection wire and signal control wire with wire clip (only for cooling and
heating unit).
4. Reinstall the handle.
After tighten the screw,pull the power cord slightly to check if it is rm.
Never cut the power connection wire to prolong or shorten the distance.
Note:
Maximum distance between Outdoor and Indoor Unit : 15m.
Max hight Difference: 10m.
handle
Indoor unit connection
NN(1)32L
blueblue black brownbrown yellow-
green
yellow-
green
OUTDOOR UNIT
POWER
OUTDOOR UNIT
XT2
PE
23N(1)
INDOOR UNIT 2
BU BK BN YEGN
OUTDOOR UNIT
NL
XT
POWER
BU BN YEGN
23N(1)
XT1
INDOOR UNIT 1
BU BK BN YEGN
PE
XT2
PE
23N(1)
INDOOR UNIT 2
BU BK BN YEGN
XT3
PE
23N(1)
INDOOR UNIT 3
BU BK BN YEGN
Installation of outdoor unit
diameter pipe [mm] tightening torque [Nm]
6,35 - 1/4’ 15 - 18
9,52 - 3/8’ 31 - 35
12,70 - 1/2’ 50 - 55
15,88 - 5/8’ 60 - 85
19,05 - 3/4’ 100 - 120
B.
15
union nut
pipe joint
3. Pretightening the union nut with hand. 4. Tighten the union nut with torque wrench
by referring to the sheet below.
Hex nut diameter Tightening torque (N
.
m)
Φ 6 15~20
Φ 9.52 30~40
Φ 12 45~55
Φ 16 60~65
Φ 19 70~75
Step 5: Connect indoor and outdoor pipe
1. Remove the screw on the right handle of outdoor unit and then remove the handle.
2. Remove the wire clip; connect the power connection wire and signal control wire (only for
cooling and heating unit) to the wiring terminal according to the color,x them with screws.
3. Fix the power connection wire and signal control wire with wire clip (only for cooling and
heating unit).
4. Reinstall the handle.
Note:
After tighten the screw,pull the power cord slightly to check if it is rm.
Never cut the power connection wire to prolong or shorten the distance.
Note:
Maximum distance between Outdoor and Indoor Unit : 15m.
Max hight Difference: 10m.
handle
Indoor unit connection
NN(1)32L
blueblue black brownbrown yellow-
green
yellow-
green
OUTDOOR UNIT
POWER
OUTDOOR UNIT
NL 23N(1)
XT XT1
POWER
XT2
INDOOR UNIT 1
BU BK BN YEGN
PE PE
BU BN YEGN
23N(1)
INDOOR UNIT 2
BU BK BN YEGN
SUV2-H18/1TFA-NA
SAVH12A-A1NB(O)
SAVH18A-A1NB(O)
OUTDOOR UNIT
NL
XT
POWER
BU BN YEGN
23N(1)
XT1
INDOOR UNIT 1
BU BK BN YEGN
PE
XT2
PE
23N(1)
INDOOR UNIT 2
BU BK BN YEGN
XT3
PE
23N(1)
INDOOR UNIT 3
BU BK BN YEGN
SUV3-H24/1TFA-NA
Installation of outdoor unit
A.
MAXIMUM DISTANCE BETWEEN THE OUTDOOR UNIT AND INDOOR: TECHNICAL OFFICE.
MAXIMUM HEIGHT BETWEEN THE OUTDOOR UNIT AND INDOOR: TECHNICAL OFFICE.
INSTALLATION
ELSKOV-12 H9
ELSKOV-18 H9
ELSKOV 2-14 H9
ELSKOV 2-18 H9
ELSKOV 3-24 H9
Indoor unit connection
LNN(1 2)3
blue black brownblue brown yellow-
green
yellow-
green
POWER
XT1
XT1

Related product manuals