EasyManua.ls Logo

Tektronix 475 - Page 240

Tektronix 475
251 pages
Print Icon
To Next Page IconTo Next Page
To Next Page IconTo Next Page
To Previous Page IconTo Previous Page
To Previous Page IconTo Previous Page
Loading...
475 EFF SN B080000-up
ADD:
R1118 315-0201-00
200 ft,
1/4 W, 57,
R1120
315-0433-00
43 kft.
1/4 W, 5%
R1232
317-0621-00
620 ft, 1/8 W, 5%
R1252
317-0621-00 620 ft.
1/8 W, 57o
R1329
316-0106-00
10 Mft,
1/4 W, 10%
R1335A"\
> 311-1533-00 Dual
5 kft
R1335B
(
2.5 Mft
R1489
315-0180-00
18 ft,
1/4 W, 5%
R1495
316-0221-00 220 ft.
1/4 W, 107,
VR1124
152-0175-00
5.6 V,
Zener Diode
VR1134
152-0166-00
Selected from 1N753A
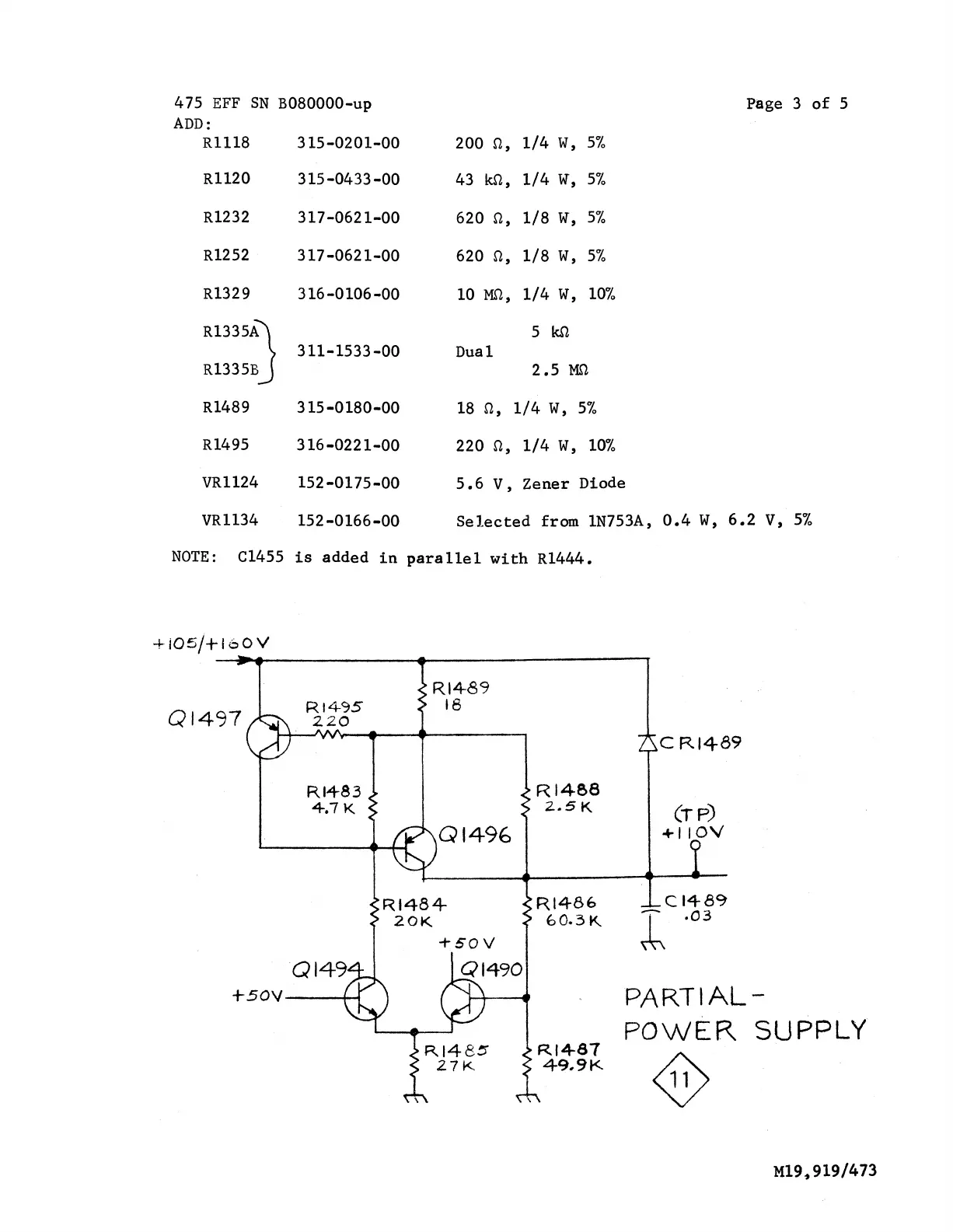
NOTE: C1455 is added in parallel with R1444.
Page 3 of 5
0.4 W, 6.2 V, 5%
I- iOS/+loO V
M19*919/473

Other manuals for Tektronix 475

Related product manuals