EasyManua.ls Logo

Telemark 376 - Page 18

Default Icon
18 pages
Print Icon
To Previous Page IconTo Previous Page
To Previous Page IconTo Previous Page
Loading...
5-2 SERVICING
Telemark 376/379 Crucible Indexer
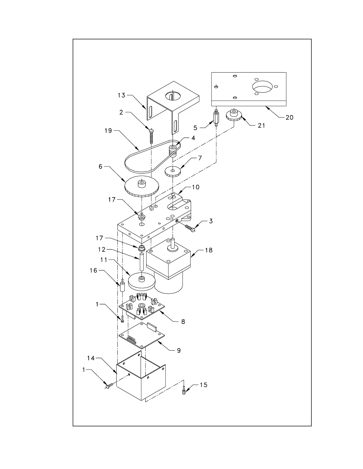
Figure 5-A
Assembly

Related product manuals