EasyManua.ls Logo

TESY GCV9S - Page 99

TESY GCV9S
Print Icon
To Next Page IconTo Next Page
To Next Page IconTo Next Page
To Previous Page IconTo Previous Page
To Previous Page IconTo Previous Page
Loading...
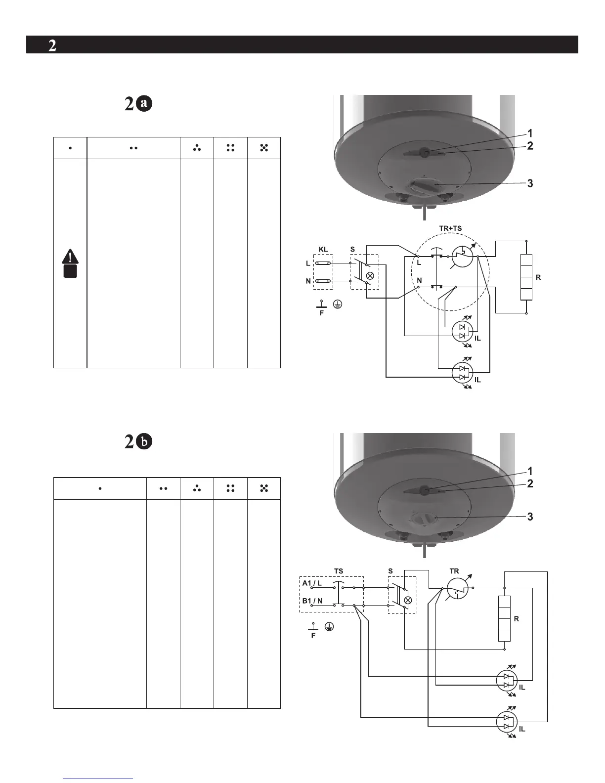
anti-freeze mode
режим против замерзания
külmumisvastane režiim
režim proti zamrznutí
regjim kundër ngrirjes
beskyttelse mod frost
režim protiiv zamrzavanja
regimen contra congelacion
režīms pret aizsaltu
nuo užšalimo apsaugantis režimas
modus frostschutz
antifryse-modus
reżym przeciw zamarzaniu
modo anti-gêlo
regim anti-îngheţ.
režim proti zamrznutí
način proti zmrzovanju
režim protiiv zamrzavanja
frostfri-funktion
режим проти замерзання
fagyvédelem
режим против замръзване
Comfort
appx.40°C
Comfort
appx.55°C
Comfort
appx.70
anti-freeze mode
режим против замерзания
külmumisvastane režiim
režim proti zamrznutí
regjim kundër ngrirjes
beskyttelse mod frost
režim protiiv zamrzavanja
regimen contra congelacion
režīms pret aizsaltu
nuo užšalimo apsaugantis režimas
modus frostschutz
antifryse-modus
reżym przeciw zamarzaniu
modo anti-gêlo
regim anti-îngheţ.
režim proti zamrznutí
način proti zmrzovanju
režim protiiv zamrzavanja
frostfri-funktion
режим проти замерзання
fagyvédelem
режим против замръзване
25±5 °C 40±5 °C 55±5 °C 70±3 °C

Related product manuals