EasyManua.ls Logo

THOMSON DS60DUO - Description of Parts

THOMSON DS60DUO
Print Icon
To Next Page IconTo Next Page
To Next Page IconTo Next Page
To Previous Page IconTo Previous Page
To Previous Page IconTo Previous Page
Loading...
- EN 4 -
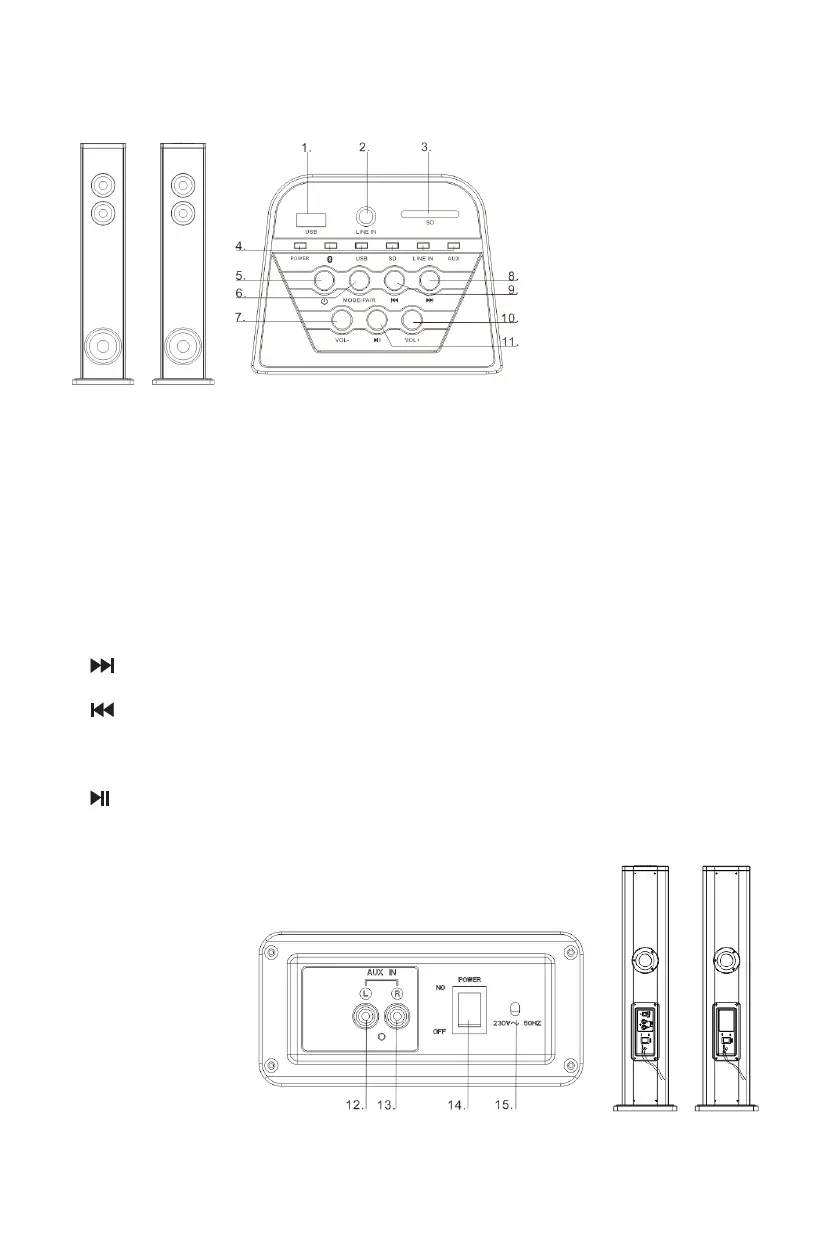
Description of Parts
Overview of the main unit
1. USB socket
2. Line in
Connect an external audio device 3.5mm jack
3. SD
4. LED indicator
5. Standby
Turn on the unit, switch to Standby mode
6. MODE/PAIR
Select a MODE: Bluetooth, USB, SD, or AUDIO IN
Pair with the 2nd speaker
7. VOL -
Adjust the Volume-
8.
In USB/SD/BT mode, skip to next track
9.
In USB/SD/BT mode, skip to previous track
10. VOL +
Adjust the Volume+
11.
Start or pause play
12. AUX IN-L
13. AUX IN-R
14. POWER SWITCH
15. Power cord

Related product manuals