EasyManua.ls Logo

THOMSON DS60DUO - Beschreibung der Teile

THOMSON DS60DUO
Print Icon
To Next Page IconTo Next Page
To Next Page IconTo Next Page
To Previous Page IconTo Previous Page
To Previous Page IconTo Previous Page
Loading...
- DE 4 -
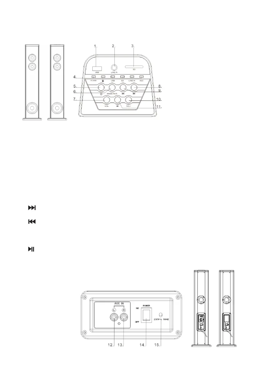
Beschreibung der Teile
Beschreibung des Hauptgerätes
1. USB-Buchse
2. Line-in
Anschluss für ein externes Audiogerät mit 3,5-mm-Klinkenstecker
3. SD-Kartenslot
4. LED-Anzeige
5. Stand-by
Einschalten des Gerätes, in den Stand-by-Modus schalten
6. MODE/PAIR
Auswahl eines MODUS: Bluetooth, USB, SD, oder AUDIO IN
Verbindung mit dem zweiten Lautsprecher
7. VOL -
Lautstärke verringern
8.
Im USB/SD/BT-Modus zum nächsten Titel springen
9.
Im USB/SD/BT-Modus zum vorherigen Titel springen
10. VOL +
Lautstärke erhöhen
11.
Wiedergabe starten oder unterbrechen
12. AUX IN-L
13. AUX IN-R
14. EIN-/
AUSSCHALTER
15. Netzkabel

Related product manuals