EasyManua.ls Logo

THOMSON DS60DUO - Description des Pièces

THOMSON DS60DUO
Print Icon
To Next Page IconTo Next Page
To Next Page IconTo Next Page
To Previous Page IconTo Previous Page
To Previous Page IconTo Previous Page
Loading...
- FR 4 -
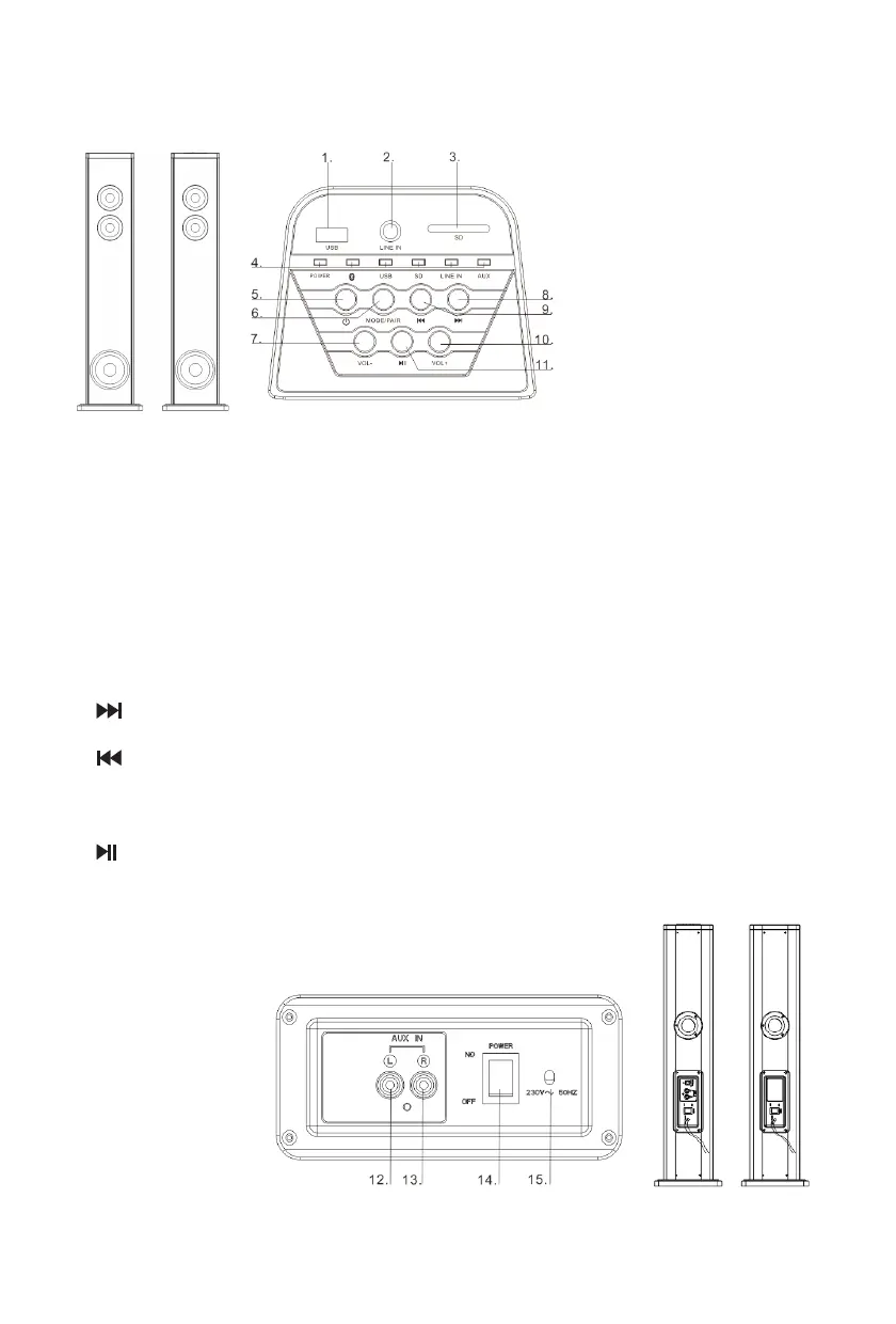
Description des pièces
Description de l'unité principale
1. Port USB
2. Line in
Brancher une source audio externe via un câble 3,5 mm.
3. SD
4. Voyant LED
5. Veille
Allumer l’appareil ou le mettre en veille.
6. MODE/PAIR (Mode/Coupler)
Sélectionner un mode : Bluetooth, USB, SD, ou AUX.
Coupler avec la 2è enceinte.
7. VOL -
Baisser le volume.
8.
Dans le mode USB/SD/BT, sauter au morceau suivant.
9.
Dans le mode USB/SD/BT, sauter au morceau précédent.
10. VOL +
Monter le volume.
11.
Démarrer la lecture ou la mettre en pause.
12. AUX IN-L (Entrée
Aux - Gauche)
13. AUX IN-R (Entrée
Aux - Droite)
14. POWER (Marche/
Arrêt)
15. Cordon
d’alimentation

Related product manuals