EasyManua.ls Logo

THOMSON DS60DUO - Page 23

THOMSON DS60DUO
Print Icon
To Next Page IconTo Next Page
To Next Page IconTo Next Page
To Previous Page IconTo Previous Page
To Previous Page IconTo Previous Page
Loading...
- ES 4 -
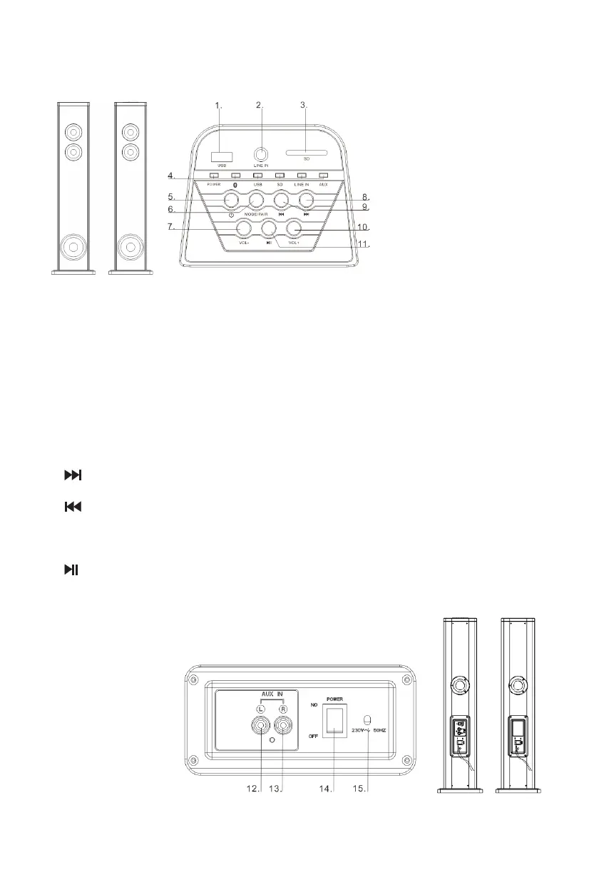
Descripción de las partes
Vista general de la unidad principal
1. Conexión USB
2. LINE IN
Enchufar el conector de 3,5 mm de un dispositivo de audio externo
3. SD
4. Indicadores LED
5. En espera
Encender la unidad, conmutar al modo de espera
6. MODE/PAIR
Seleccionar un MODO: Bluetooth, USB, SD, o AUDIO IN
Emparejar con el segundo altavoz
7. VOL -
Bajar el volumen
8.
En el modo USB/SD/BT, pasar a la pista siguiente
9.
En el modo USB/SD/BT, pasar a la pista anterior
10. VOL +
Subir el volumen
11.
Iniciar la reproducción o ponerla en pausa
12. AUX IN-L
13. AUX IN-R
14. INTERRUPTOR
DE POTENCIA
15. Cable de
alimentación

Related product manuals