EasyManua.ls Logo

THOMSON DS60DUO - Page 32

THOMSON DS60DUO
Print Icon
To Next Page IconTo Next Page
To Next Page IconTo Next Page
To Previous Page IconTo Previous Page
To Previous Page IconTo Previous Page
Loading...
- IT 4 -
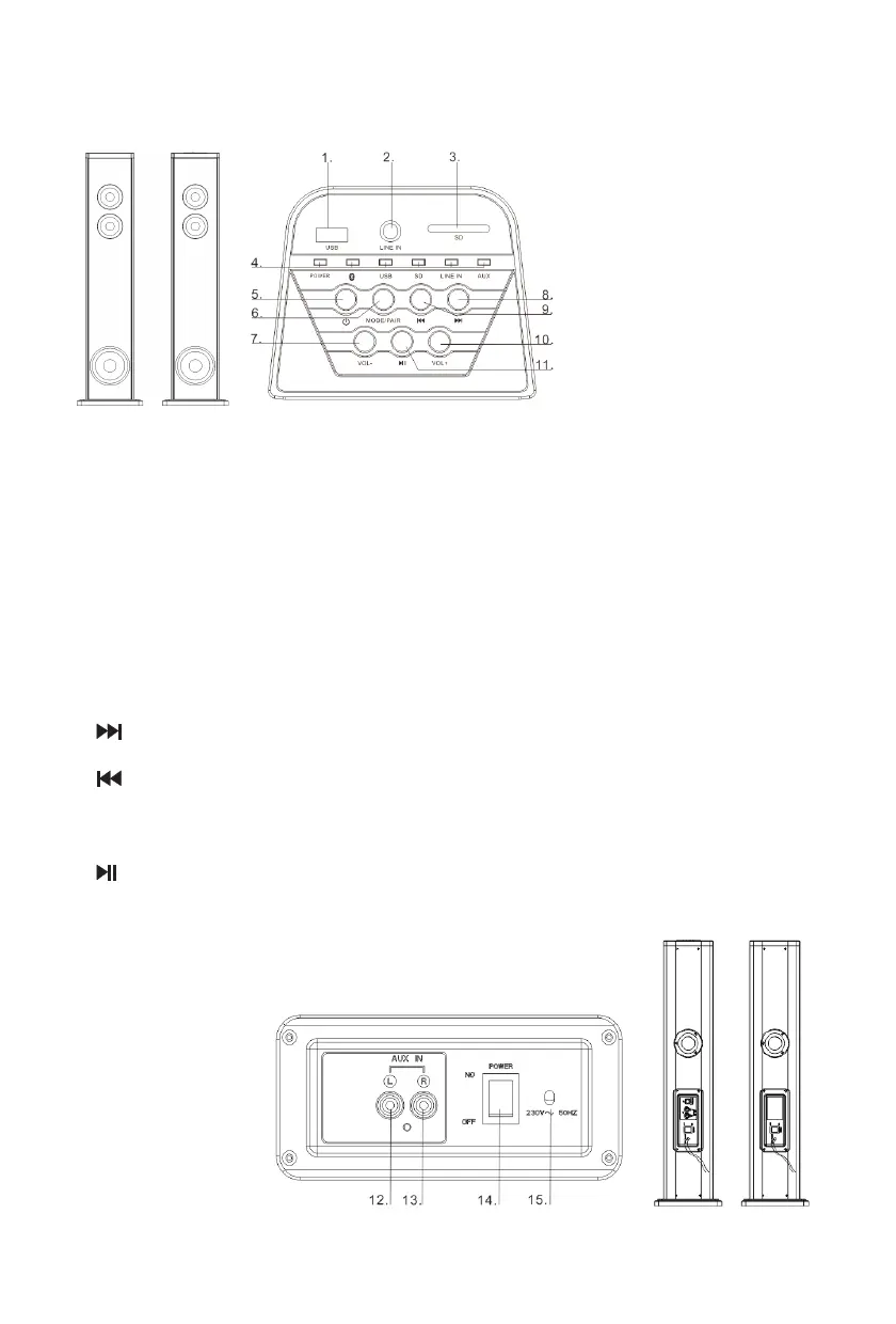
Descrizione delle parti
Panoramica dell'unità principale
1. Porta USB
2. Porta Line-in
Porta da 3,5 mm per il collegamento a un dispositivo audio esterno
3. Porta per schede di memoria SD
4. Spia di stato
5. Standby
Accensione dell'unità, attivazione della modalità di standby
6. MODE/PAIR
Selezione della modalità (sorgente audio): Bluetooth, USB, Scheda di memoria SD, o Ingresso
audio
Abbinamento con l'altoparlante secondario
7. VOL -
Diminuzione del volume
8.
In modalità USB/SD/BT, premere per passare alla traccia successiva
9.
In modalità USB/SD/BT, premere per passare alla traccia precedente
10. VOL +
Aumento del volume
11.
Avvio o pausa della riproduzione
12. AUX IN-L
(Ingresso
ausiliario
sinistro)
13. AUX IN-R
(Ingresso
ausiliario destro)
14. INTERRUTTORE
DI
ALIMENTAZIONE
15. Cavo di
alimentazione

Related product manuals