EasyManua.ls Logo

THOMSON DS60DUO - Page 41

THOMSON DS60DUO
Print Icon
To Next Page IconTo Next Page
To Next Page IconTo Next Page
To Previous Page IconTo Previous Page
To Previous Page IconTo Previous Page
Loading...
- PT 4 -
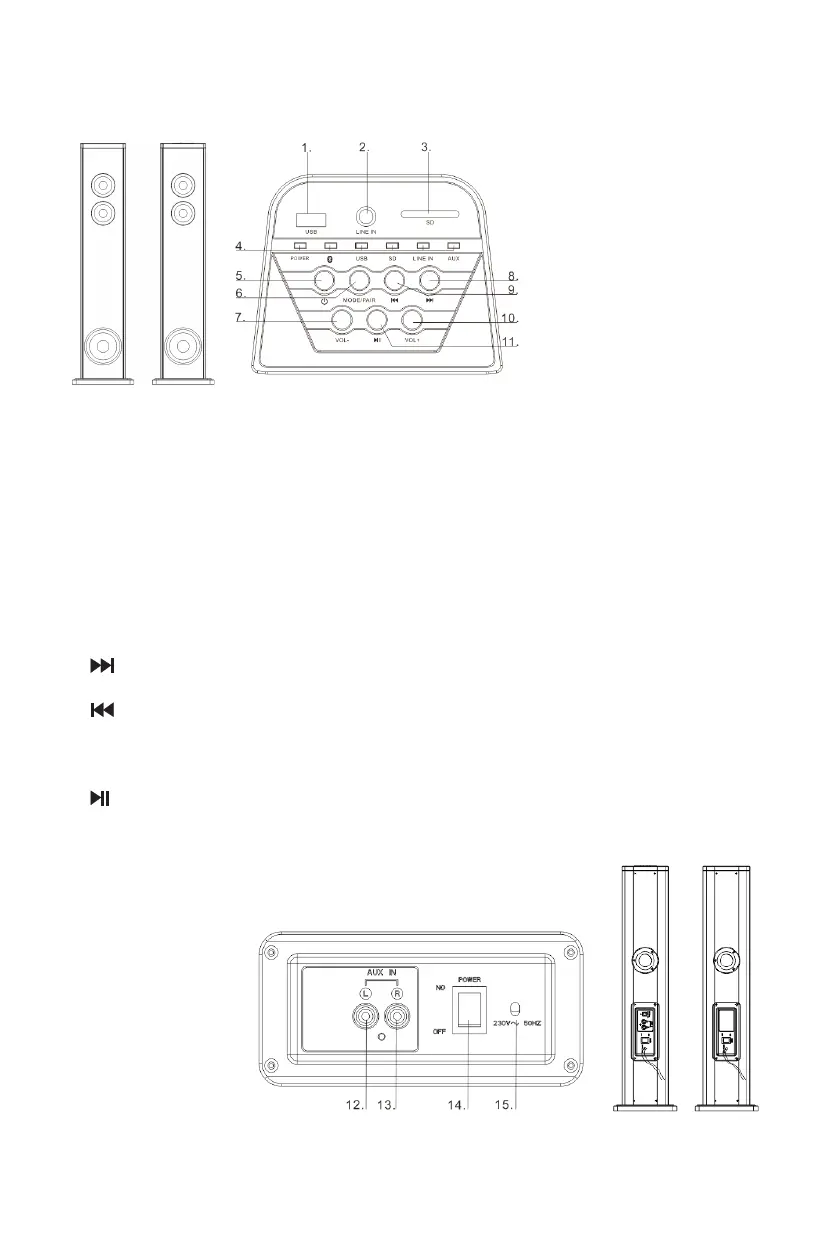
Descrição das peças
Vista pormenorizada da unidade principal
1. Entrada USB
2. Line in
Ligue um dispositivo de áudio externo com cha de 3,5 mm
3. SD
4. Indicador LED
5. Inativo
Ligue a unidade e passe para o modo inativo
6. MODE/PAIR
Selecione um MODO: Bluetooth, USB, SD, ou AUDIO IN
Emparelhar com o segundo altifalante
7. VOL -
Diminua o volume
8.
No modo USB/SD/BT, passe para a faixa seguinte.
9.
No modo USB/SD/BT, passe para a faixa anterior.
10. VOL +
Aumente o volume
11.
Iniciar ou fazer uma pausa na reprodução
12. AUX IN Esquerdo
13. AUX IN Direito
14. INTERRUPTOR
ELÉTRICO
15. Fio da
alimentação

Related product manuals