EasyManua.ls Logo

THOMSON DS60DUO - Page 59

THOMSON DS60DUO
Print Icon
To Next Page IconTo Next Page
To Next Page IconTo Next Page
To Previous Page IconTo Previous Page
To Previous Page IconTo Previous Page
Loading...
- NL 4 -
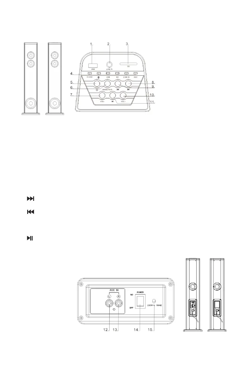
Beschrijving van de onderdelen
Overzicht van het toestel
1. USB-aansluiting
2. Line In
Met een extern audio-apparaat met een 3,5mm aansluiting verbinden
3. SD
4. LED-controlelampje
5. Standby
Het toestel inschakelen of in stand-by zetten
6. MODE/PAIR
Een MODUS selecteren: Bluetooth, USB, SD, of AUDIO IN
De tweede luidspreker koppelen
7. VOL -
Het volume verlagen
8.
In de USB/SD/BT-modus; naar de volgende track gaan
9.
In de USB/SD/BT-modus; naar de vorige track gaan
10. VOL +
Het volume verhogen
11.
Het afspelen starten of onderbreken
12. AUX IN-L
13. AUX IN-R
14. AAN/UIT-
SCHAKELAAR
15. Snoer

Related product manuals