EasyManua.ls Logo

TOHATSU 40 - Page 74

TOHATSU 40
329 pages
Print Icon
To Next Page IconTo Next Page
To Next Page IconTo Next Page
To Previous Page IconTo Previous Page
To Previous Page IconTo Previous Page
Loading...
SECTION 3
3-26
3-/ 4-Cylinder
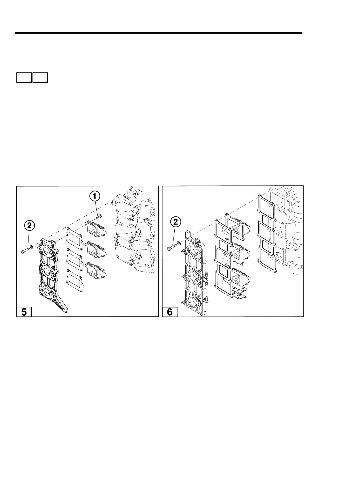
Assembly
Components must be clean and all serviceable gaskets must be
replaced.
1. Assemble the intake manifold components as
illustrated:
Apply Loctite 242 to threads of reed valve assembly screws
(1)
.
Install all gaskets dry.
•Torque manifold bolts
(2)
evenly to specification.
2. Connect the crankcase recirculation hose to the manifold (models
80, 90, 115, 120, and 140).
3. Install carburetors. See Carburetor, this section.
4. Connect the linkage at the throttle cam.
5. Install recoil starter or flywheel cover as applicable.
5 6
T1042 T1043

Table of Contents

Related product manuals